Запчасти Case 821C (04-17B) - MOUNTING - LAMPS, FRONT (Nov 20 2008 9:15AM) (04) - ELECTRICAL SYSTEMS

Схема запчастей Case 821C - (04-17B) - MOUNTING - LAMPS, FRONT (Nov 20 2008 9:15AM) (04) - ELECTRICAL SYSTEMS
4
3
17
9
8
7
17
5
13
7
10
15
16
6
12
8
11
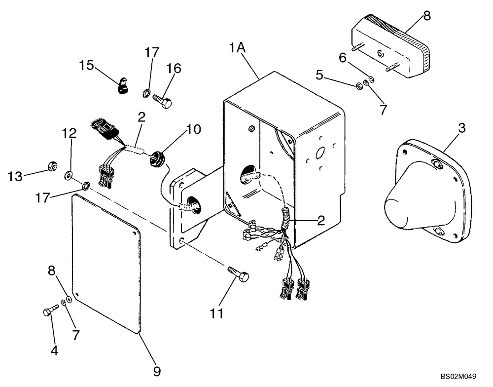
1a
2
2
FIT
1:1
100%

Артикул

Название

Примечание

Количество

REF

INSTRUCTION

EUROPE ONLY

1шт.

REF

INSTRUCTION

Z-BAR LOADER

1шт.

1a

349447A2

SUPPORT

Front Lamp; Right Hand

1шт.

1a

349448A2

SUPPORT

Front Lamp; Left Hand; Not Illustrated

1шт.

2

279524A3

HARNESS

Front Lamp

2шт.

3

E133214

HEADLIGHT,Halogen, 24V, 70W

See Figure 04-18

2шт.

4

614-6030

BOLT,Hex, M6 x 1 x 30mm, Cl 8.8, Full Thd

4-12шт.

5

829-1406

NUT,Hex, M6 x 1, Cl 10.9

M6; 10.9

4-12шт.

6

895-11006

WASHER,6.6mm ID x 12mm OD x 1.6mm Thk

8-16шт.

7

892-11006

LOCK WASHER,M6

8-16шт.

8

E133215

TAIL LAMP

Turn Signal; See Figure 04-19

2шт.

9

E132226

LARGE PLATE

PLATE, LARGE

2шт.

10

328265A1

GROMMET

4шт.

11

627-12040

BOLT,Hex, M12 x 1.75 x 40mm, Cl 10.9, Full Thd

6шт.

12

892-11012

LOCK WASHER,M12

6шт.

13

829-1412

NUT,M12, Cl 10.9

6шт.

15

515-25127

CLAMP,1/2", Insul, 1/2" Bolt

4шт.

16

426-816

BOLT,Hex, 1/2" - 13 x 1", Gr 8

6шт.

17

495-11053

WASHER,1/2", SAE

(17/32" x 1-1/16" x 3/32")

10шт.

Выбрано товаров: 19