Запчасти Case 821C (04-25) - LAMP, LICENSE PLATE (Nov 30 2009 3:12PM) (04) - ELECTRICAL SYSTEMS

Схема запчастей Case 821C - (04-25) - LAMP, LICENSE PLATE (Nov 30 2009 3:12PM) (04) - ELECTRICAL SYSTEMS
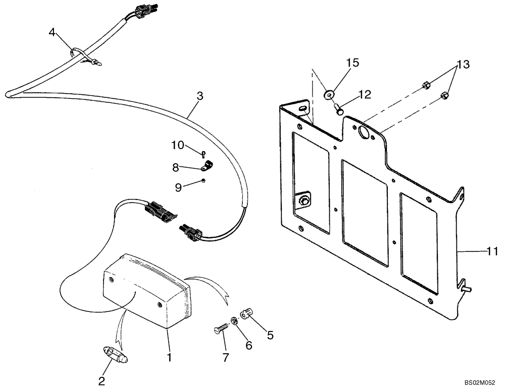
5
15
13
7
3
12
11
2
1
10
4
8
9
6
FIT
1:1
100%

Артикул

Название

Примечание

Количество

REF

INSTRUCTION

EUROPE ONLY

1шт.

1

120229A1

LIGHT

License Plate; Incl. 2

1шт.

2

E133303

BULB

24V

1шт.

3

120822A1

HARNESS

License Plate

1шт.

4

L18337

CABLE TIE,9.95"-12.1" lg

CABLE STRAP 15 in

1шт.

5

829-1406

NUT,Hex, M6 x 1, Cl 10.9

M6; 10.9

2шт.

6

892-11006

LOCK WASHER,M6

2шт.

7

614-6020

BOLT,Hex, M6 x 1 x 20mm, Cl 8.8, Full Thd

2шт.

8

515-2348

CLAMP,4.8mm ID, 10.3mm Bolt Hole, P Type

2шт.

9

231-1445

NUT,5/16"-18, GB

2шт.

10

426-516

BOLT,Hex, 5/16" - 18 x 1", Gr 8

1шт.

11

437303A1

BRACKET

License Plate

1шт.

12

614-6020

BOLT,Hex, M6 x 1 x 20mm, Cl 8.8, Full Thd

6шт.

13

832-10406

NUT,M6 x 1, Cl 8

6шт.

14

895-25006

WASHER,6.6mm ID x 18mm OD x 1.6mm Thk

6шт.

Выбрано товаров: 15