Запчасти Case 921C (06-10) - TRANSMISSION - POWER TAKE OFF AND OIL PUMP (06) - POWER TRAIN

Схема запчастей Case 921C - (06-10) - TRANSMISSION - POWER TAKE OFF AND OIL PUMP (06) - POWER TRAIN
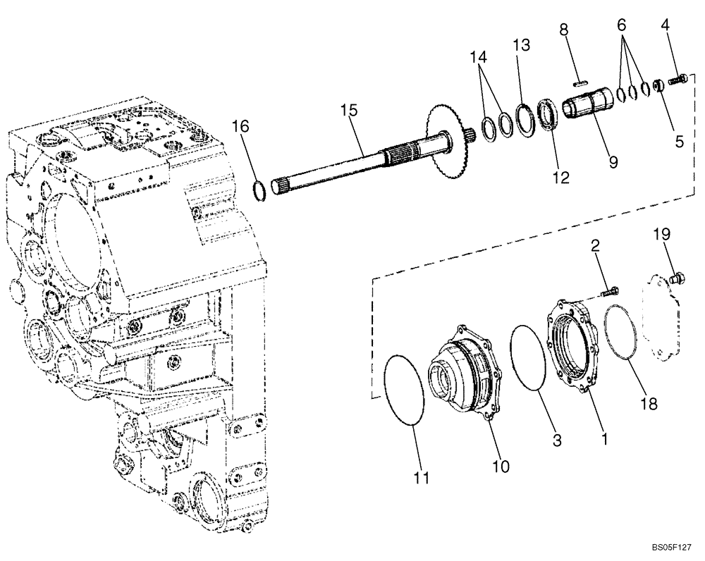
18
16
4
15
5
1
6
10
9
8
2
11
14
12
3
19
13
FIT
1:1
100%

Артикул

Название

Примечание

Количество

196175A1

TRANSMISSION

Incl. Figures 06-06 - 06-20, 07-01, No Longer Available, Order 380529A1, See Figures 06-20A - 06-20Q

1шт.

1

335464A1

COUPLING FLANGE

1шт.

2

814-12045

BOLT,Hex, M12 x 1.75 x 45mm, Cl 8.8

8шт.

3

335463A1

O-RING

1шт.

4

100270A1

BOLT

M10 x 25

1шт.

5

S301879

SPACER

1шт.

6

S301878

SNAP RING

3шт.

8

100321A1

BUCKET TOOTH KEY

1шт.

9

S301877

PISTON

1шт.

10

387563A1

PUMP

1шт.

11

335601A1

O-RING,160mm ID x 3mm Width

1шт.

12

PO239636Z

Bearing

1шт.

13

100272A1

CIRCLIP

1шт.

14

8900129002

WASHER

2шт.

15

387535A1

SHAFT

1шт.

16

S301874

RING

1шт.

18

8603527

O-RING

1шт.

19

8603274

SCREW,Hex

2шт.

Выбрано товаров: 18