Запчасти Case 921C (08-35) - HYDRAULICS - LOADER CONTROL, REMOTE (08) - HYDRAULICS

Схема запчастей Case 921C - (08-35) - HYDRAULICS - LOADER CONTROL, REMOTE (08) - HYDRAULICS
5
9
11
4
5
5
8
2
11
2
5
12
4
1a
10
7
4
10
1
9
6
FIT
1:1
100%

Артикул

Название

Примечание

Количество

Dual Lever With Four Spool Valve

1шт.

North America Only

1шт.

If Used

1шт.

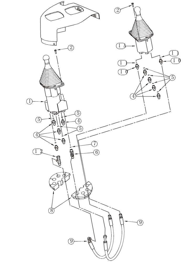
1

292085A1

VALVE

Single Lever Remote, Two Spool, See Figure 08-39

1шт.

1a

299238A1

VALVE

Auxiliary, Single Lever Remote, Two Spool, See Figure 08-49

1шт.

2

840-1620

SCREW,Pan, M6 x 20mm, Cl 4.8

8шт.

4

218-5057

HYD CONNECTOR,9/16" - 18 JIC x 9/16" - 18 ORB

Incl. 5

9шт.

6

218-5243

TEE,9/16" - 18 Male JIC x 9/16" - 18 Male JIC x 9/16" - 18 Male ORB

Incl. 7

1шт.

8

232388A1

GROMMET

2шт.

9

300016A1

HOSE ASSY.

483 mm (19-1/16 in)

2шт.

10

218-5089

HYD CONNECTOR,7/16" - 20 Male JIC x 9/16" - 18 Male ORB

Incl. 11

2шт.

12

218-5222

TEE,37 Degree, 9/16"-18, x 9/16"-18, Fem Sw Run

1шт.

Note: See Figure 08-37 for a continuation of the circuit from the hose grommet to the loader valve

1шт.

Nota : Voir la page 8 -37 pour la suite du circuit du passe-fil de conduite à la soupape de charge.

1шт.

Nota: Consultar la página 8-37 para la continuación del circuito desde la junta de goma de la manguera hasta la válvula de carga.

1шт.

Note: See Figure 9-45 for the console cover

1шт.

Nota : Voir la page 9 -45 pour le couvercle de la console.

1шт.

Nota: Consultar la página 9-45 para la cubierta de la consola.

1шт.

5

237-6006

O-RING,0.078" Thk x 0.468" ID, -906, Cl 6, 90 Duro

1шт.

7

237-6006

O-RING,0.078" Thk x 0.468" ID, -906, Cl 6, 90 Duro

1шт.

11

237-6006

O-RING,0.078" Thk x 0.468" ID, -906, Cl 6, 90 Duro

1шт.

Выбрано товаров: 21