Запчасти Case 921C (09-37) - FENDERS, FRONT- WIDE (09) - CHASSIS

Схема запчастей Case 921C - (09-37) - FENDERS, FRONT- WIDE (09) - CHASSIS
8
2
9
4
3
9
6
10
7
1
8
6
5
5
FIT
1:1
100%

Артикул

Название

Примечание

Количество

North America and Europe

1шт.

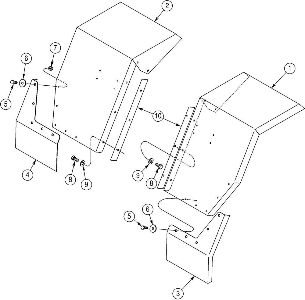
1

326259A1

FENDER

Front, Right Hand

1шт.

2

327237A1

FENDER

Front, Left Hand

1шт.

3

129003A1

SKIRT

Lower Right Hand

1шт.

4

129002A1

SKIRT

Lower Left Hand

1шт.

5

627-10025

BOLT,Hex, M10 x 1.5 x 25mm, Cl 10.9, Full Thd

10шт.

6

39519

WASHER,10.31mm ID x 34.9mm OD x 3.57mm Thk

10шт.

7

832-10410

NUT,M10 x 1.5, Cl 8

10шт.

8

627-12025

BOLT,Hex, M12 x 1.75 x 25mm, Cl 10.9, Full Thd

10шт.

9

496-21053

WASHER,17/32" x 1 1/16" x .134"

No Longer Used, Order 895-25012

10шт.

9

895-25012

WASHER,M12 x 37 x 3

13,5 x 37 x 3 mm, Replaces 496-21053

10шт.

10

391702A1

BACK PLATE

Support

2шт.

Выбрано товаров: 12