Запчасти Case 921C (08-47) - VALVE ASSY - COMBINATION (08) - HYDRAULICS

Схема запчастей Case 921C - (08-47) - VALVE ASSY - COMBINATION (08) - HYDRAULICS
20
17
15
19
18
3
16
11
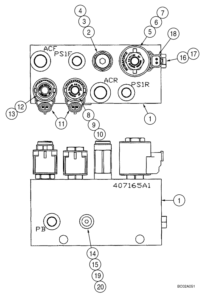
1
1
2
9
13
7
10
6
14
12
4
8
5
FIT
1:1
100%

Артикул

Название

Примечание

Количество

407165A1

VALVE

1шт.

Combination Valve

1шт.

Incl. 1-20

1шт.

1

NSS

NOT SOLD SEPARAT

Housing

1шт.

2

294787A1

JET

1шт.

3

120470A2

VALVE

1шт.

Incl. 4

1шт.

Component Parts Not Serviced Separately

1шт.

4

120469A1

SEAL KIT

Seal

1шт.

5

431547A1

VALVE

2-Way, Incl. 6

1шт.

Component Parts Not Serviced Separately

1шт.

6

329484A1

SEAL KIT

Seal

1шт.

7

431570A1

COIL

24V

1шт.

8

431548A1

VALVE

3-Way

1шт.

Component Parts Not Serviced Separately

1шт.

9

329483A1

SEAL KIT

1шт.

10

431569A1

COIL

24V

2шт.

11

256340A1

CONNECTOR, ELEC

CONNECTOR

2шт.

12

431549A1

VALVE

1шт.

Component Parts Not Serviced Separately

1шт.

13

1542831C1

SEAL KIT

Seal

1шт.

14

431550A1

VALVE, PRESSURE RELI

EF Incl. 15

1шт.

Component Parts Not Serviced Separately

1шт.

15

431551A1

SEAL KIT

Seal

1шт.

16

9625178

PLUG,9/16" - 18 ORB

1шт.

Incl. 17

1шт.

17

237-6006

O-RING,0.078" Thk x 0.468" ID, -906, Cl 6, 90 Duro

1шт.

18

225316C1

ELEC CONNECTOR,Female, 2 Pin

2 cavity

1шт.

19

278548

PLUG,Hex, 7/16"-20 ORB

1шт.

Incl. 20

1шт.

20

237-6004

O-RING,0.072" Thk x 0.351" ID, -904, Cl 6, 90 Duro

1шт.

Выбрано товаров: 31