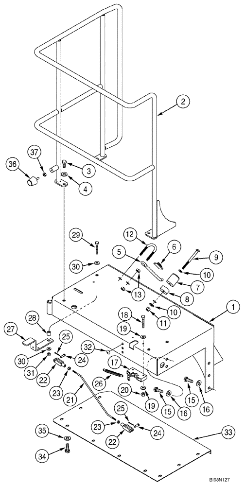
Запчасти Case 921C (09-21) - FENDERS, REAR - STEPS (09) - CHASSIS

Схема запчастей Case 921C - (09-21) - FENDERS, REAR - STEPS (09) - CHASSIS
22
10
36
23
15
28
25
34
24
24
37
9
22
10
13
12
16
19
17
21
31
15
5
16
4
1
27
8
35
3
29
26
20
33
32
11
6
7
30
19
30
18
2
25
23
FIT
1:1
100%

Артикул

Название

Примечание

Количество

WIDE FENDERS

1шт.

LEFT HAND

1шт.

NORTH AMERICA AND EUROPE

1шт.

1

327188A2

FENDER

1шт.

Rear Wide

1шт.

Left Hand

1шт.

2

295442A1

GUARD ASSY.

1шт.

Fender

1шт.

Left Hand

1шт.

3

627-12025

BOLT,Hex, M12 x 1.75 x 25mm, Cl 10.9, Full Thd

4шт.

4

896-15012

WASHER,13.5mm ID x 28mm OD x 4mm Thk

13,5 x 28 x 4 mm

4шт.

5

311071A2

LATCH

1шт.

Fender

1шт.

6

H439303

CLIP

1шт.

Harness

1шт.

7

L126483

BUMPER

1шт.

8

311070A1

SPACER

2шт.

9

827-6070

BOLT,Hex, M6 x 70mm, Cl 10.9

1шт.

10

495-11028

WASHER,1/4", SAE

(9/32 x 5/8 x 1/16")

2шт.

11

832-10406

NUT,M6 x 1, Cl 8

1шт.

12

19-6258

U-BOLT

1/4 in

1шт.

13

425-104

NUT,1/4"-20, Cl 5

2шт.

15

627-12040

BOLT,Hex, M12 x 1.75 x 40mm, Cl 10.9, Full Thd

5шт.

16

896-15012

WASHER,13.5mm ID x 28mm OD x 4mm Thk

13,5 x 28 x 4 mm

5шт.

17

R55003

LATCH ASSY.

1шт.

Left Hand

1шт.

18

827-6040

BOLT,Hex, M6 x 40mm, Cl 10.9

2шт.

19

495-11028

WASHER,1/4", SAE

(9/32 x 5/8 x 1/16")

4шт.

20

832-10406

NUT,M6 x 1, Cl 8

2шт.

21

298382A1

STEM

1шт.

Latch

1шт.

22

213-124

ADJUSTABLE CLEVIS,1/4"-28

2шт.

23

425-114

NUT,1/4"-28, G5

2шт.

24

27-4077

CLEVIS PIN,1/4" x .770"

1/4 in

2шт.

25

432-48

COTTER PIN,1/16" x 1/2"

2шт.

26

90-7524T1

SPRING

1шт.

Lever

1шт.

27

311068A2

LEVER

1шт.

Latch

1шт.

28

299247A1

BUSHING

1шт.

Lever

1шт.

29

827-8050

BOLT,Hex, M8 x 1.25 x 50mm, Cl 10.9

1шт.

30

895-15008

WASHER,9mm ID x 20mm OD x 1.6mm Thk

2шт.

31

832-10408

NUT,M8 x 1.25, Cl 8.8

1шт.

32

L126856

RIVET

3шт.

33

327239A2

COVER

1шт.

Fender

1шт.

Lower

1шт.

Left Hand

1шт.

34

627-10025

BOLT,Hex, M10 x 1.5 x 25mm, Cl 10.9, Full Thd

14шт.

35

896-15010

WASHER,11mm ID x 24mm OD x 3mm Thk

11 x 24 x 3 mm

14шт.

36

N7673

BUMPER

1шт.

37

425-145

JAM NUT,Jam, 5/16"-18, G5

1шт.

Выбрано товаров: 53