Запчасти Case 921C (04-33) - COLD START SYSTEM (04) - ELECTRICAL SYSTEMS

Схема запчастей Case 921C - (04-33) - COLD START SYSTEM (04) - ELECTRICAL SYSTEMS
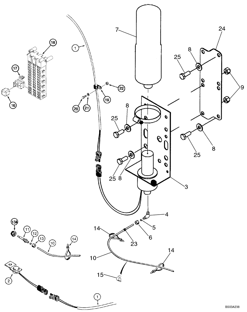
4
13
10
14
25
6
10
3
21
13a
25
12
14
1
8
5
16
18
7
25
20
11
8
1
15
17
8
19
2
23
9
25
24
14
8
22
FIT
1:1
100%

Артикул

Название

Примечание

Количество

NORTH AMERICA ONLY

1шт.

1

296748A5

HARNESS

1шт.

Engine and Transmission

1шт.

2

L126191

THERMOSTATIC SWITCH

1шт.

Circuit Breaking

1шт.

Use Existing Hardware

1шт.

L126198

VALVE

1шт.

Incl. 3 - 6

1шт.

3

NSS

NOT SOLD SEPARAT

Valve, Solenoid

1шт.

222-615

ELBOW,90 Degree, 5/16"-24 x 1/8" NPT, Comp

1/8 tube OD

1шт.

Incl. 4 - 6

1шт.

4

NSS

NOT SOLD SEPARAT

Body

1шт.

5

222-650

SLEEVE,1/8" Tube, Comp

1шт.

6

222-660

FLANGE NUT,5/16"-24, 45 Degree Fl, Comp

1/8" tube OD

1шт.

7

A171940

CYLINDER

1шт.

Starting Fluid

1шт.

8

895-15010

WASHER,11mm ID x 24mm OD x 2mm Thk

3шт.

9

832-10410

NUT,M10 x 1.5, Cl 8

3шт.

10

445785A1

PLASTIC-RUBBER TUBE

1шт.

A172900

NOZZLE CAP

1шт.

Starting Fluid

1шт.

Incl. 11 - 13

1шт.

11

NSS

NOT SOLD SEPARAT

Body

1шт.

12

222-650

SLEEVE,1/8" Tube, Comp

1шт.

13

222-660

FLANGE NUT,5/16"-24, 45 Degree Fl, Comp

1/8" tube OD

1шт.

13a

217-1034

REDUCER,1/4" - 18 Male NPTF x 1/8" - 27 Female NPTF

1шт.

14

L18337

CABLE TIE,9.95"-12.1" lg

CABLE STRAP 15 in

1шт.

15

L100659

CLIP

1шт.

Tube

1шт.

16

326845A1

RELAY,24V

24V

1шт.

17

A149800

FUSE,10 Amp

10 amp

1шт.

18

REF

INSTRUCTION

HARNESS Cab Main; SEE FIG 04-09

1шт.

19

515-2179

CLAMP,5/16", Insul, 1/4" Bolt

(7.9 mm)

1шт.

20

470-11012

SCREW,Pan HD, #10 - 24 x 3/4"

1шт.

21

493-11020

LOCK WASHER,5.08mm ID x 12.75mm OD x 1.02mm Thk

(3/16")

1шт.

22

225-14110

NUT,#10-24

1шт.

23

L77834

GROMMET

1шт.

24

86983516

BRACKET

1шт.

25

627-10025

BOLT,Hex, M10 x 1.5 x 25mm, Cl 10.9, Full Thd

4шт.

Выбрано товаров: 39