Запчасти Case 921C (05-03A) - HYDRAULICS - STEERING (05) - STEERING

Схема запчастей Case 921C - (05-03A) - HYDRAULICS - STEERING (05) - STEERING
7b
5a
11
13
8
6
15
3
22
9
2
10
11
18
5b
12
7
21
13
16
4
7a
26
24
23
17
28
14
20
1
29
14
25
5
19
27
FIT
1:1
100%

Артикул

Название

Примечание

Количество

REF

INSTRUCTION

IF USED; ALSO SEE FIGURE 08-04

1шт.

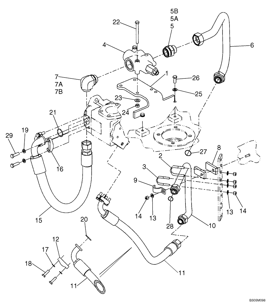
1

418235A1

SUPPORT

Valve Mounting

1шт.

2

233381A1

U-BOLT,M10 x 1.5 x 73mm, Carbon Steel

BOLT "U"

1шт.

3

253410A1

U-BOLT,M10 x 1.5 x 67mm

BOLT "U"

1шт.

4

L128074

VALVE

Flow Control; If Used

1шт.

4

87371431

HYDRAULIC VALVE

Valve Priority; If Used

1шт.

5

201-137

HYD CONNECTOR,2"-12 ORFS x 1 8/8"-12 ORB

2 fc sl x 1-5/8 Or; Incl 5A, 5B

1шт.

5a

237-6020

O-RING,0.118" Thk x 1.475" ID, -920, Cl 6, 90 Duro

1шт.

5b

238-6029

O-RING,0.07" Thk x 1.489" ID, -29, Cl 6, 90 Duro

1шт.

6

L128113

TUBE,38.09 mm OD

Supply

1шт.

7

201-309

ELBOW,90 Degree Elbow, 1-11/16" - 12 Male ORFS x 1-5/8" - 12 Male ORB

90 DEG ADJ 1.25 ORFS - 1.25 ORB; Incl. 7A, 7B

1шт.

7a

238-6025

O-RING,0.07" Thk x 1.176" ID, -25, Cl 6, 90 Duro

1шт.

7b

237-6020

O-RING,0.118" Thk x 1.475" ID, -920, Cl 6, 90 Duro

1шт.

8

L129098

SPACER

2шт.

9

S120173

CLAMP

Tube

1шт.

10

399300A1

TUBE

Supply

1шт.

11

399374A1

HOSE ASSY.

666 mm (26-1/4 in)

1шт.

12

A12306

FLANGE

Split Half; 1 in

2шт.

13

896-11010

WASHER,11mm ID x 21mm OD x 2.5mm Thk

5шт.

14

832-10410

NUT,M10 x 1.5, Cl 8

5шт.

15

221344A1

HOSE ASSY.

900 mm (35-7/16 in)

1шт.

16

A12301

CLAMP,Half

4шт.

17

892-11010

LOCK WASHER,M10

4шт.

18

627-10035

BOLT,Hex, M10 x 1.5 x 35mm, Cl 10.9, Full Thd

4шт.

19

892-11010

LOCK WASHER,M10

M12

4шт.

20

238-6219

O-RING,0.139" Thk x 1.296" ID, -219, Cl 6, 90 Duro

1шт.

21

238-6222

O-RING,0.139" Thk x 1.484" ID, -222, Cl 6, 90 Duro

2шт.

22

827-12120

BOLT,Hex, M12 x 1.75 x 120mm, Cl 10.9

2шт.

23

895-15012

WASHER,M12 x 28 x 2.5

13,5 x 28 x 2,5 mm

2шт.

24

829-1412

NUT,M12, Cl 10.9

2шт.

25

895-11012

WASHER,13.5mm ID x 24mm OD x 2.5mm Thk

2шт.

26

627-12030

BOLT,Hex, M12 x 1.75 x 30mm, Cl 10.9, Full Thd

2шт.

27

238-6025

O-RING,0.07" Thk x 1.176" ID, -25, Cl 6, 90 Duro

1шт.

28

238-6021

O-RING,15/16 X 1 - 1/16, Cl 6

1шт.

29

627-12040

BOLT,Hex, M12 x 1.75 x 40mm, Cl 10.9, Full Thd

4шт.

Выбрано товаров: 35