Запчасти Case 521D (02-19) - OIL PUMP, PAN - HEATER (02) - ENGINE

Схема запчастей Case 521D - (02-19) - OIL PUMP, PAN - HEATER (02) - ENGINE
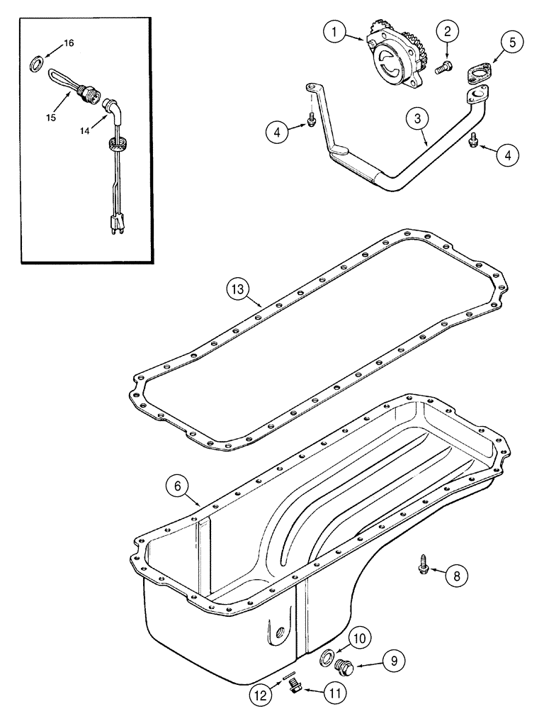
15
11
4
16
9
13
1
14
5
10
8
12
2
6
4
3
FIT
1:1
100%

Артикул

Название

Примечание

Количество

REF

INSTRUCTION

4T-390 EMISSIONS CERTIFIED ENGINE

1шт.

1

J937027

PUMP, ENGINE OIL

1шт.

JR937027

REMAN-ENG OIL PUMP

REMAN-ENGINE OIL PUMP Remanufactured Oil Pump; For N.A. Only

1шт.

JC937027

CORE-ENGINE OIL PUMP

CORE-ENGINE OIL PUMP Return Number - For N.A. only

1шт.

2

J900677

BOLT,Hex

M8 x 30

4шт.

3

J905206

TUBE,1" OD

1шт.

4

845-8020

BOLT,Hvy Hex, M8 x 20mm, Cl 8.8

3шт.

5

J938157

GASKET,1.2mm Thk

1шт.

6

J901049

PAN, ENGINE OIL

PAN, OIL

1шт.

8

J920400

FLANGE BOLT,Hex, M8 x 1.25 x 21mm, Gr 8.8

M8 x 25

28шт.

9

J924148

PLUG,M22 x 1.5

M22

1шт.

10

J902425

SEALING WASHER,22.2mm ID x 26.9mm OD x 1.75mm Thk

1шт.

11

J924147

PLUG,M18 x 1.5

M18

1шт.

12

J920773

SEALING WASHER

1шт.

13

NSS

NOT SOLD SEPARAT

Gasket, Pan; Order A77673 Gasket Kit

1шт.

REF

INSTRUCTION

ENGINE OIL HEATER

1шт.

A77490

KIT

120V; Heater; Incl. Ref 14, 15; Also Order J902425 Washer, Reference No. 16

1шт.

14

196466A1

ELECTRIC CABLE

1829 mm (72 in); North America Only

1шт.

14

J905114

ELECTRIC CABLE

1829 mm (72 in); Europe Only

1шт.

15

J904380

UNIT HEATER

North America Only

1шт.

15

J285916

HEATER

240V; Europe Only

1шт.

16

J902425

SEALING WASHER,22.2mm ID x 26.9mm OD x 1.75mm Thk

1шт.

Выбрано товаров: 22