Запчасти Case 521D (02-20) - OIL PUMP, PAN - DRAIN LINE (02) - ENGINE

Схема запчастей Case 521D - (02-20) - OIL PUMP, PAN - DRAIN LINE (02) - ENGINE
6
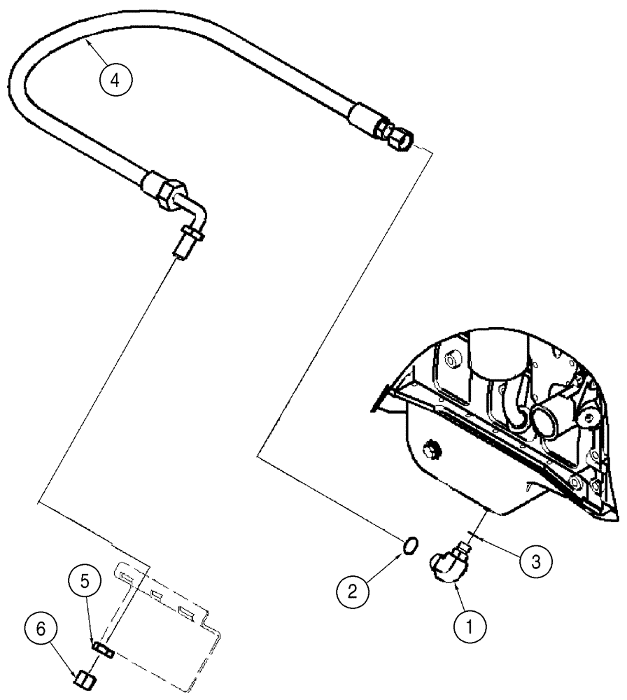
2
4
1
5
3
FIT
1:1
100%

Артикул

Название

Примечание

Количество

REF

INSTRUCTION

4T-390 EMISSIONS CERTIFIED ENGINE

1шт.

1

700-343

ELBOW,90 Degree Elbow, 1" - 14 Male ORFS x M18 x 1.5 Male ORB

Incl. Ref 2, 3

1шт.

2

238-6016

O-RING,0.07" Thk x 0.614" ID, -16, Cl 6, 90 Duro

1шт.

3

637-63153

O-RING,2.2mm Thk x 15.3mm ID, Cl 6, 90 Duro

1шт.

4

397437A1

FLEXIBLE HOSE

1250 mm (49-1/2 in); Drain

1шт.

5

218-1251

BHD LOCK NUT,Blkhd, 7/8"-14

1шт.

6

218-756

CAP,37 Degree, 7/8"-14

1шт.

Выбрано товаров: 7