Запчасти Case 521D (06-06) - TRANSMISSION ASSY - HOUSING (06) - POWER TRAIN

Схема запчастей Case 521D - (06-06) - TRANSMISSION ASSY - HOUSING (06) - POWER TRAIN
7
6
10
14
1
4
18
13
16
21
2
11
18
19
23
4
21
9
20
4
17
22
12
3
15
25
24
20
8
19
17
5
FIT
1:1
100%

Артикул

Название

Примечание

Количество

361424A1

TRANSMISSION

ZF No. 4656 024 017; See Figures 06-04 - 06-21, 07-01

1шт.

361424A1R

REMAN-TRANSMISSION

Remanufactured Transmission; 521D Tier 1 & 2, Model Number 4WG130, Stock Number 4656 024 017

1шт.

361424A1C

CORE-TRANSMISSION

Return number

1шт.

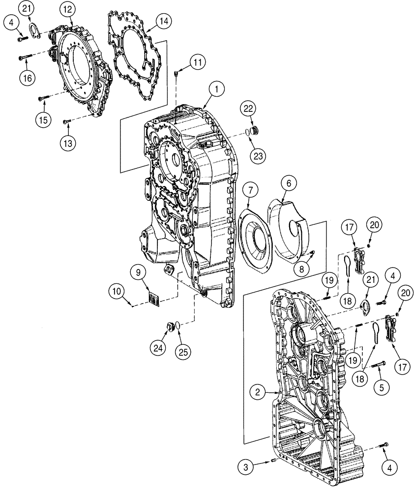
1

404219A1

HOUSING

Front

1шт.

2

404220A1

HOUSING

Rear

1шт.

3

932659R1

DOWEL,M10 x 20

2шт.

4

331689A1

CAPSCREW,M10 x 40mm

M10 x 65

46шт.

5

404221A1

SCREW,M10 x 65mm

M10 x 65

7шт.

6

330804A1

SCREEN

GEAR COVER

1шт.

7

330805A1

SCREEN

PLATE

1шт.

8

330806A1

CAPSCREW,M8 x 12mm

4шт.

9

81282C1

NAMEPLATE

PLATE

1шт.

10

932658R1

GROOVED PIN,Rd Hd, M3 x 5

4шт.

11

N14704

BREATHER

1шт.

12

330807A1

HOUSING

1шт.

13

330808A1

CAPSCREW,Flg, 5/16" - 18 x 5", Gr 8

15шт.

14

330809A1

GASKET

1шт.

15

330810A1

CAPSCREW,M8 x 14mm

21шт.

16

330811A1

CAPSCREW,Flg, 5/16" - 18 x 5 1/2", Gr 8

4шт.

17

330812A1

COVER

2шт.

18

330813A1

O-RING

2шт.

19

404223A1

STUD

M8 x 25

12шт.

20

330816A1

NUT

M8

12шт.

21

330817A1

LARGE PLATE

PLATE, LARGE

2шт.

22

330818A1

PLUG

Incl. Ref 23

1шт.

23

330819A1

O-RING

1шт.

24

330820A1

PLUG

Incl. Ref 25

1шт.

25

330819A1

O-RING

1шт.

Выбрано товаров: 0