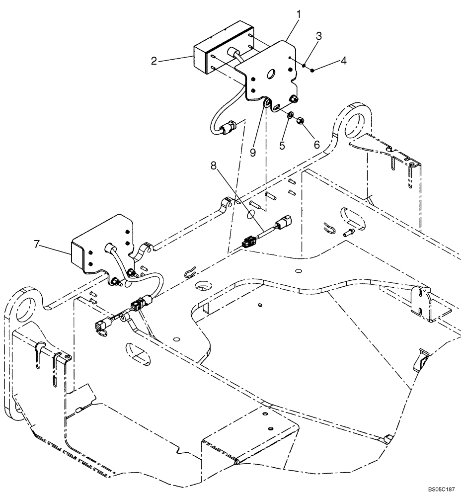
Запчасти Case 521D (04-22) - MOUNTING - LAMPS, REAR COMBINATION (04) - ELECTRICAL SYSTEMS

Схема запчастей Case 521D - (04-22) - MOUNTING - LAMPS, REAR COMBINATION (04) - ELECTRICAL SYSTEMS
6
8
5
4
2
9
3
1
7
FIT
1:1
100%

Артикул

Название

Примечание

Количество

1

87447778

BRACKET

BRACKET Rear Light

2шт.

2

411777A1

LAMP, TAIL

LIGHT, TAIL Left Hand; Incl. 10, 11

1шт.

3

892-11005

LOCK WASHER,M5

8шт.

4

825-1405

NUT,M5, Cl 8

8шт.

5

896-11010

WASHER,11mm ID x 21mm OD x 2.5mm Thk

4шт.

6

832-10410

NUT,M10 x 1.5, Cl 8

4шт.

7

411778A1

LAMP, TAIL

LIGHT, TAIL Right Hand; Incl. 9, 10

1шт.

8

87450787

WIRE HARNESS

HARNESS Tail Light Jumper

2шт.

9

T53567

BEARING WASHER,16.66mm ID x 33.33mm OD x 3.43mm Thk

Washer; Heat Treated

4шт.

10

A186295

LENS

Not Illustrated

1шт.

11

A15084

LAMP

Not Illustrated

2шт.

Выбрано товаров: 11