Запчасти Case 521D (04-22A) - LAMP ASSY - LAMPS, REAR COMBINATION - IF USED (04) - ELECTRICAL SYSTEMS

Схема запчастей Case 521D - (04-22A) - LAMP ASSY - LAMPS, REAR COMBINATION - IF USED (04) - ELECTRICAL SYSTEMS
5
4
8
3
3
2
9
6
4
9
1
FIT
1:1
100%

Артикул

Название

Примечание

Количество

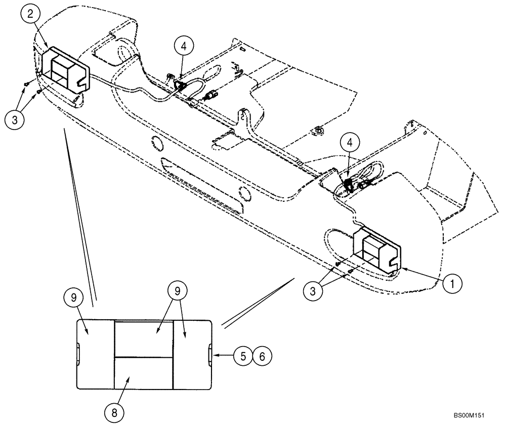
1

87404946

LIGHT ASSY.,24V, 21W, Amber/Red

Combination; Right Hand; Incl. 6 - 9

1шт.

2

87404944

LIGHT ASSY.,24V, 21W, Amber/Red

Combination; Left Hand; Incl. 5, 7 - 9

1шт.

3

864-6020

HEX SOC SCREW,M6 x 20mm, Cl 8.8

4шт.

4

L18331

CABLE TIE,375.9mm L, Nylon, Black

CABLE STRAP 15"

2шт.

5

8603178

LENS

Left Hand

1шт.

6

8603177

LENS

Right Hand

1шт.

7

408146A1

GASKET

Not Illustrated

1шт.

8

411085A1

LAMP

24V, 10W; Tail

1шт.

9

410939A1

BULB,S8, 24V, 21W

24V; Stop, Reverse, Turn Signal

3шт.

Выбрано товаров: 9