Запчасти Case 521D (06-22D) - AXLE, FRONT - BRAKE (06) - POWER TRAIN

Схема запчастей Case 521D - (06-22D) - AXLE, FRONT - BRAKE (06) - POWER TRAIN
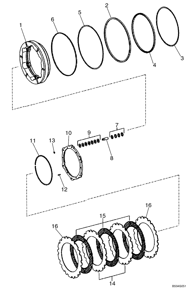
1
3
5
2
8
16
9
13
16
12
10
14
7
4
6
15
11
FIT
1:1
100%

Артикул

Название

Примечание

Количество

86984432

FRONT AXLE

Limited Slip; Incl. Figure(s) 06-22A - 06-22E

1шт.

87441320

END ASSY.

Incl. 1 - 15; Incl. Figure 06-23E

1шт.

1

8603166

PISTON

1шт.

2

8605315

SEAL

1шт.

3

8603577

RING

1шт.

4

8605314

SEAL,298mm ID x 310mm OD x 8mm Thk

Brake Piston

1шт.

5

8603579

RING

1шт.

6

8603580

SNAP RING

1шт.

7

8603583

SEAL

24шт.

8

8603163

PIN

06шт.

9

8603584

BELLEVILLE WASHER

42шт.

10

8603162

SHIM

1шт.

11

8603788

SNAP RING

6шт.

12

8603796

ROLL PIN,6mm OD x 20mm L

6шт.

13

8603585

SNAP RING

1шт.

14

8603582

BRAKE PLATE

Outer

3шт.

15

8603581

BRAKE DISC

Inner

3шт.

15

87341835

BRAKE DISC

Replaces 8603581

4шт.

16

87441328

PLATE,2mm Thk

Brake

2шт.

Выбрано товаров: 19