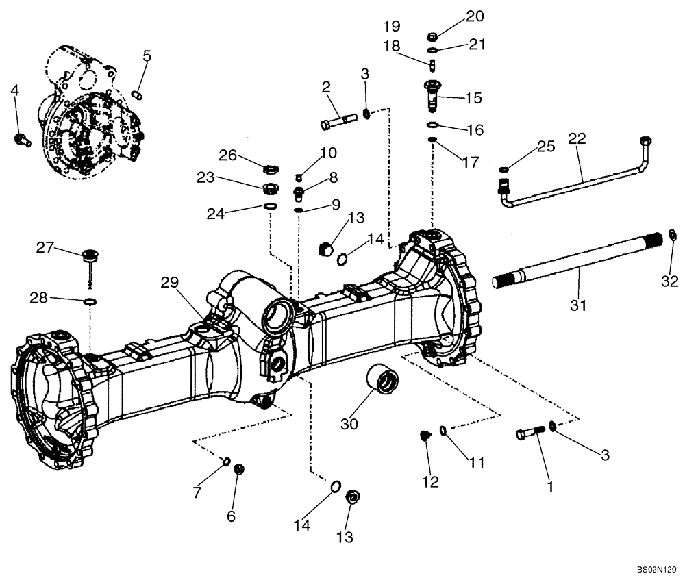
Запчасти Case 521D (06-24A) - AXLE, REAR - HOUSING (06) - POWER TRAIN

Схема запчастей Case 521D - (06-24A) - AXLE, REAR - HOUSING (06) - POWER TRAIN
32
30
2
13
4
1
16
22
17
25
11
26
19
20
14
28
9
29
23
31
3
6
27
8
5
18
15
13
10
3
24
14
12
21
7
FIT
1:1
100%

Артикул

Название

Примечание

Количество

86984431

REAR AXLE

Limited Slip; Incl. Figure(s) 06-24A - 06-24E

1шт.

87358578

REAR AXLE

Limited Slip; Incl. Figure(s) 06-24A - 06-24E; Same As 86984431 Except Wheel End Assembly

1шт.

1

514-1107

BOLT,Hex, M18 x 1.5 x 85mm, Cl 10.9

28шт.

2

8603670

BOLT

M18 x 115; 10.9

4шт.

3

8603202

WASHER

32шт.

4

8603687

BOLT

15шт.

5

8603695

DOWEL

3шт.

6

8603550

PLUG

1шт.

7

8603208

O-RING,2mm Thk x 21mm ID

1шт.

8

8603256

PLUG

1шт.

9

8603208

O-RING,2mm Thk x 21mm ID

1шт.

10

8603201

BREATHER

Vent

1шт.

11

8603200

SEALING RING

2шт.

12

8603550

PLUG

2шт.

13

8603549

PLUG

2шт.

14

8603728

O-RING,40mm ID x 3mm Width

2шт.

15

8603551

FITTING

2шт.

16

8603727

O-RING,2.2mm Thk x 33mm ID

M33 x 2,0

2шт.

17

8603552

GASKET

2шт.

18

3222214R1

VALVE

Vent; Incl. 19

2шт.

19

8603671

CAP

2шт.

20

8603210

PLUG

2шт.

21

8603799

RING

2шт.

22

8603672

TUBE

Brake; No Longer Used; Replaced By 87436733

2шт.

22

87436733

TUBE

Internal Brake; Replaces 8603672

2шт.

23

8603696

FITTING

2шт.

24

8603207

O-RING,2.5mm Thk x 38mm ID

2шт.

25

8603725

O-RING

2шт.

26

8603619

TUBE NUT

M27

2шт.

27

8603694

DIPSTICK

Oil

1шт.

28

8603207

O-RING,2.5mm Thk x 38mm ID

1шт.

29

8605639

AXLE HOUSING

Main Rear

1шт.

30

8605638

BUSHING,58.2mm ID x 80mm OD x 65mm L

1шт.

31

8603690

SHAFT

Stub

1шт.

32

8603730

SHIM,0.2mm Thk

2шт.

32

8603669

SHIM,0.4mm Thk

2шт.

32

8603731

SHIM,1mm Thk

2шт.

32

8603732

SHIM,1.5mm Thk

2шт.

Выбрано товаров: 38