Запчасти Case 521D (07-03) - HYDRAULICS - BRAKE, MAIN (07) - BRAKES

Схема запчастей Case 521D - (07-03) - HYDRAULICS - BRAKE, MAIN (07) - BRAKES
4
8
28a
23
9
29
18
26
24
28b
25
22
14
19
3
1
21
2
20
6
18
9
7
15
28
17
5
9
10
11
FIT
1:1
100%

Артикул

Название

Примечание

Количество

REF

INSTRUCTION

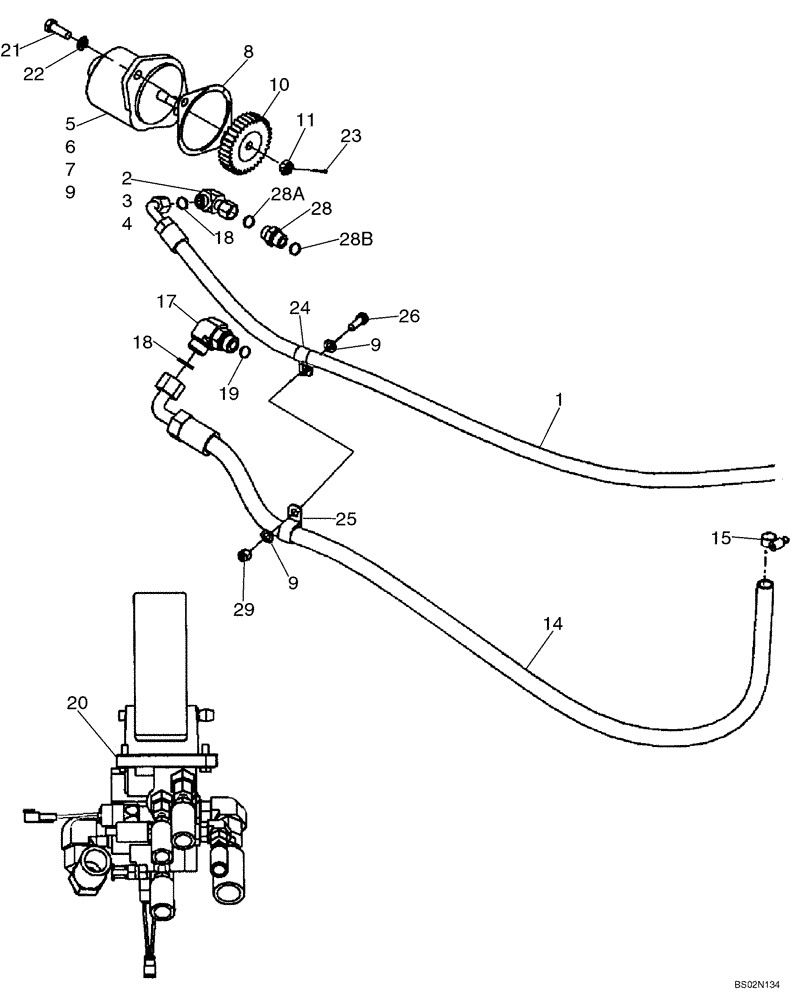
RESERVOIR TO PUMP TO ACCUMULATOR VALVE

1шт.

REF

INSTRUCTION

ALSO See Figure 07-05A, 07-05B

1шт.

1

86984044

HOSE

3033 mm (119-3/8 in); Pressure, Brake Pump

1шт.

2

701-320

ELBOW,90 Degree Elbow, 13/16" - 16 Male ORFS x 13/16" - 16 Female ORFS

13/16 fc sl x 22 orb; Incl. 3, 4

1шт.

3

637-63153

O-RING,2.2mm Thk x 15.3mm ID, Cl 6, 90 Duro

1шт.

4

238-6014

O-RING,0.07" Thk x 0.489" ID, -14, Cl 6, 90 Duro

Face Seal

1шт.

5

87402776

HYDRAULIC PUMP,14 CC

Incl. 6, 7

1шт.

5

87402776R

REMAN-HYD PUMP

1шт.

5

87402776C

CORE-HYDRAULIC PUMP

Return Number

1шт.

6

410069A1

SEAL

Shaft; Not Illustrated; No Longer Used For This Application; See Figure 07-03A

1шт.

7

410068A1

SEAL KIT

Seal; Component Parts Not Serviced Separately; Not Illustrated;No Longer Used For This Application; See Figure 07-03A

1шт.

8

4896897

GASKET,1.35mm Thk

Included With Engine Assembly

1шт.

9

895-11010

WASHER,11mm ID x 20mm OD x 2mm Thk

No Longer Used For This Application; See Figure 07-03A

2шт.

10

86985892

GEAR

1шт.

11

425-138

SLOTTED NUT,1/2"-20, G8

1шт.

14

87403644

FLEXIBLE HOSE

1497 mm; Pump To Accumulator Valve

1шт.

15

214-1416

HOSE CLAMP,#16, 0.81" - 1.5", Type F Worm

2шт.

16

198828C1

GROMMET,25.4mm ID x 41.1mm OD x 26.9mm Thk

Not Illustrated

1шт.

17

700-307

ELBOW,90 Degree Elbow, 1-3/16" - 12 Male ORFS x M27 x 2 Male ORB

20mm x 27 ORB; Incl. 18, 19

1шт.

18

637-64236

O-RING,2.9mm Thk x 23.6mm ID, Cl 6, 90 Duro

15,3 ID x 2,2; Boss Seal

1шт.

19

238-6018

O-RING,0.07" Thk x 0.739" ID, -18, Cl 6, 90 Duro

1/2 ID x 1/16; Face Seal

1шт.

20

8603091

VALVE

Brake Accumulator; Incl. 21; See Figure 07-04

1шт.

21

627-12035

BOLT,Hex, M12 x 1.75 x 35mm, Cl 10.9, Full Thd

2шт.

22

892-11012

LOCK WASHER,M12

2шт.

23

432-616

COTTER PIN,3/32" x 1"

1шт.

24

515-24222

CLAMP,7/8", Insul, 7/16" Bolt

(22.2mm; M10 Bolt)

1шт.

25

515-24302

CLAMP,1 3/16", Insul, 7/16" Bolt

(30.2 mm)

1шт.

28

700-162

HYD CONNECTOR,13/16" - 16 Male ORFS x M22 x 1.5 Male ORB

12 mm; Incl. 28A, 28B

1шт.

28a

238-6014

O-RING,0.07" Thk x 0.489" ID, -14, Cl 6, 90 Duro

Face Seal

1шт.

28b

637-64236

O-RING,2.9mm Thk x 23.6mm ID, Cl 6, 90 Duro

Boss Seal

1шт.

29

832-10410

NUT,M10 x 1.5, Cl 8

1шт.

26

627-10030

BOLT,Hex, M10 x 1.5 x 30mm, Cl 10.9, Full Thd

1шт.

Выбрано товаров: 32