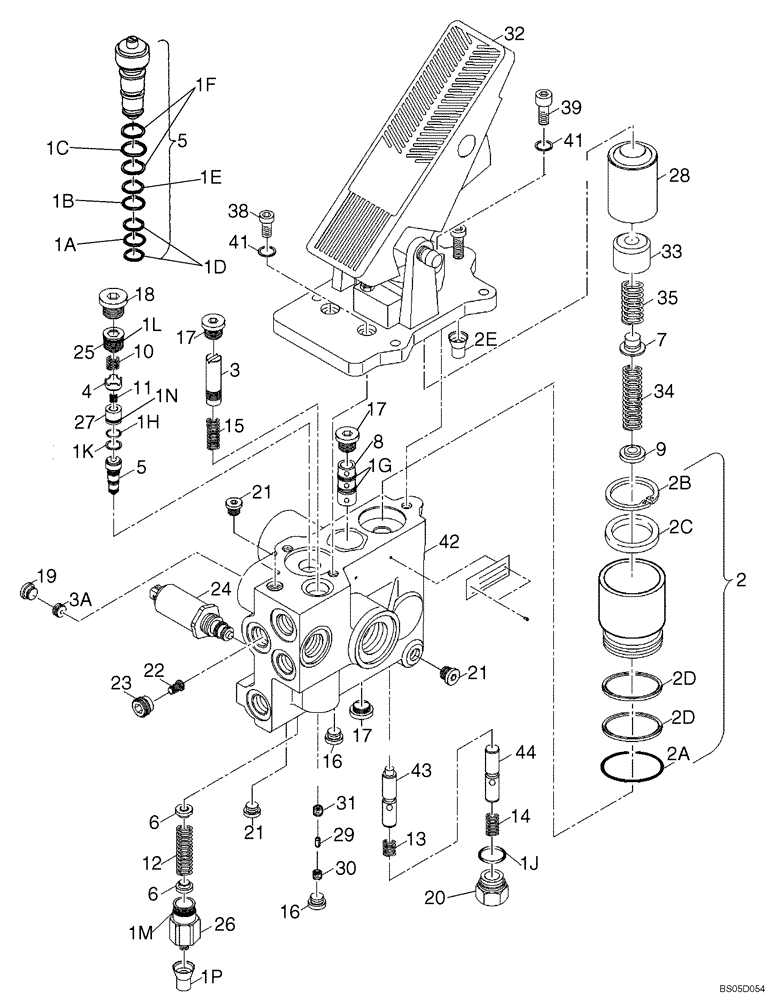
Запчасти Case 521D (07-04) - VALVE ASSY - BRAKE (07) - BRAKES

Схема запчастей Case 521D - (07-04) - VALVE ASSY - BRAKE (07) - BRAKES
16
9
1h
2b
1p
44
5
13
1n
10
28
21
23
2d
1l
1c
12
3
1a
2a
38
17
17
22
26
1j
1d
1e
34
41
6
42
6
17
2d
1k
21
31
24
43
32
8
35
21
1g
5
1b
7
2c
33
15
16
25
29
11
14
27
2
19
4
39
41
1f
2e
1m
18
30
3a
20
FIT
1:1
100%

Артикул

Название

Примечание

Количество

8603091

VALVE

Brake

1шт.

1

8604843

KIT

Includes 1A - 1P

1шт.

1a

NSS

NOT SOLD SEPARAT

O-Ring; 9.25 x 1.78; NBR 90

1шт.

1b

NSS

NOT SOLD SEPARAT

O-Ring; 9.0 x 2.0; NBR 90

1шт.

1c

NSS

NOT SOLD SEPARAT

O-Ring;10.82 x 1.78; NBR 90

1шт.

1d

NSS

NOT SOLD SEPARAT

Thrust Ring; 9.2 / 12.0 x 0.5

1шт.

1e

NSS

NOT SOLD SEPARAT

Thrust Ring; 10.0 / 13.0 x 1.0

1шт.

1f

NSS

NOT SOLD SEPARAT

Thrust Ring; 11.2/ 14.0 x 0.5

1шт.

1g

NSS

NOT SOLD SEPARAT

O-Ring;12.4 x 1.78; NBR 90

1шт.

1h

NSS

NOT SOLD SEPARAT

O-Ring; 15.6x 1.78; NBR 90

1шт.

1j

NSS

NOT SOLD SEPARAT

O-Ring; 15.4 x 2.1; NBR 70

1шт.

1k

NSS

NOT SOLD SEPARAT

Thrust Ring; 15.3 / 18.0 x 0.5

1шт.

1l

NSS

NOT SOLD SEPARAT

O-Ring; 20.35 x 1.78; NBR 90

1шт.

1m

NSS

NOT SOLD SEPARAT

O-Ring; 23.0 x 2.5; NBR 90

1шт.

1n

NSS

NOT SOLD SEPARAT

O-Ring; 15.6 x 1.78; NBR 80

1шт.

1p

NSS

NOT SOLD SEPARAT

Cap; Orange; M10 x 28

1шт.

2

87344558

REPAIR KIT

includes items 6 , 12, 1M, 26 and 1P

1шт.

2

8604479

SEAL KIT

Includes 2A - 2E; Replaces 8604840

1шт.

2a

NSS

NOT SOLD SEPARAT

O-Ring;36.17 x 2.62; NBR 90

1шт.

2b

NSS

NOT SOLD SEPARAT

Circlip; 42 x 1.75 A3C

1шт.

2c

NSS

NOT SOLD SEPARAT

Shaft Seal; 32 x 42 x 7 NBR

1шт.

2d

NSS

NOT SOLD SEPARAT

Guide Ring; 32-3.9C PTFE

1шт.

2e

NSS

NOT SOLD SEPARAT

Cap; Orange; M* x 32

1шт.

3

8604483

SPOOL

1шт.

3a

NSS

NOT SOLD SEPARAT

1шт.

4

8604484

SPRING

1шт.

5

408908A1

KIT

LVV; Includes Components In Bracket 5

1шт.

5

8604485

SLEEVE

1шт.

6

8604486

SPRING

2шт.

7

8604487

SPRING

1шт.

8

8604488

SPOOL

Unit WVI

1шт.

9

8604489

SPRING

1шт.

10

8604491

SPRING

Compression

1шт.

11

8604492

SPRING

Compression

1шт.

12

8604493

SPRING

Compression

1шт.

13

8604494

SPRING

Compression

1шт.

14

8604495

SPRING

Compression

1шт.

15

8604496

SPRING

Compression

1шт.

16

8604498

LOCK SCREW

3шт.

17

8604499

LOCK SCREW

3шт.

18

8604500

LOCK SCREW

1шт.

19

8604501

LOCK SCREW

1шт.

20

8604502

VALVE

Reducer

1шт.

21

8604503

LOCK SCREW

2шт.

22

8604504

VALVE, CHECK

1шт.

23

8604505

SLEEVE

1шт.

24

8604506

SOLENOID VALVE

Parking Brake Solenoid

1шт.

25

8604508

SPOOL

Unit RV

1шт.

26

8604509

SLEEVE

1шт.

27

8604510

SLEEVE

1шт.

28

8604511

BUSHING

1шт.

29

8604512

SCREW,Throttle

1шт.

30

8604513

SEAT, VALVE

1шт.

31

8604514

SEAT, VALVE

1шт.

32

8604836

PEDAL

Brake

1шт.

33

87344555

SLEEVE

1шт.

34

8604507

SPRING

Compression

1шт.

35

8604490

SPRING

Compression

1шт.

38

864-8025

HEX SOC SCREW,M8 x 25mm, Cl 8.8

2шт.

39

864-8030

HEX SOC SCREW,M8 x 30mm, Cl 8.8

1шт.

40

87449850

PLASTIC PLUG

1шт.

41

892-11008

LOCK WASHER,8mm ID

1шт.

42

NSS

NOT SOLD SEPARAT

Housing

1шт.

43

NSS

NOT SOLD SEPARAT

Spool

1шт.

44

NSS

NOT SOLD SEPARAT

Spool

1шт.

Выбрано товаров: 65