Запчасти Case 521D (08-14) - PUMP ASSY (08) - HYDRAULICS

Схема запчастей Case 521D - (08-14) - PUMP ASSY (08) - HYDRAULICS
19
29
9
2
5
8
15
18
13
28b
20
4
10
25
28a
3
16
1
29a
12
27
28c
28
30
7
26
11
22
6
14
31
23
24
17
21
FIT
1:1
100%

Артикул

Название

Примечание

Количество

87436172

PUMP

Torque Control; Set To Destroke At 158 Bar; Replaces 8605847

1шт.

87436172R

REMAN-HYD PUMP

521D S/N JEE0135501 & AFTER (1/03-)

1шт.

87436172C

CORE-INJECTION PUMP

Return Number

1шт.

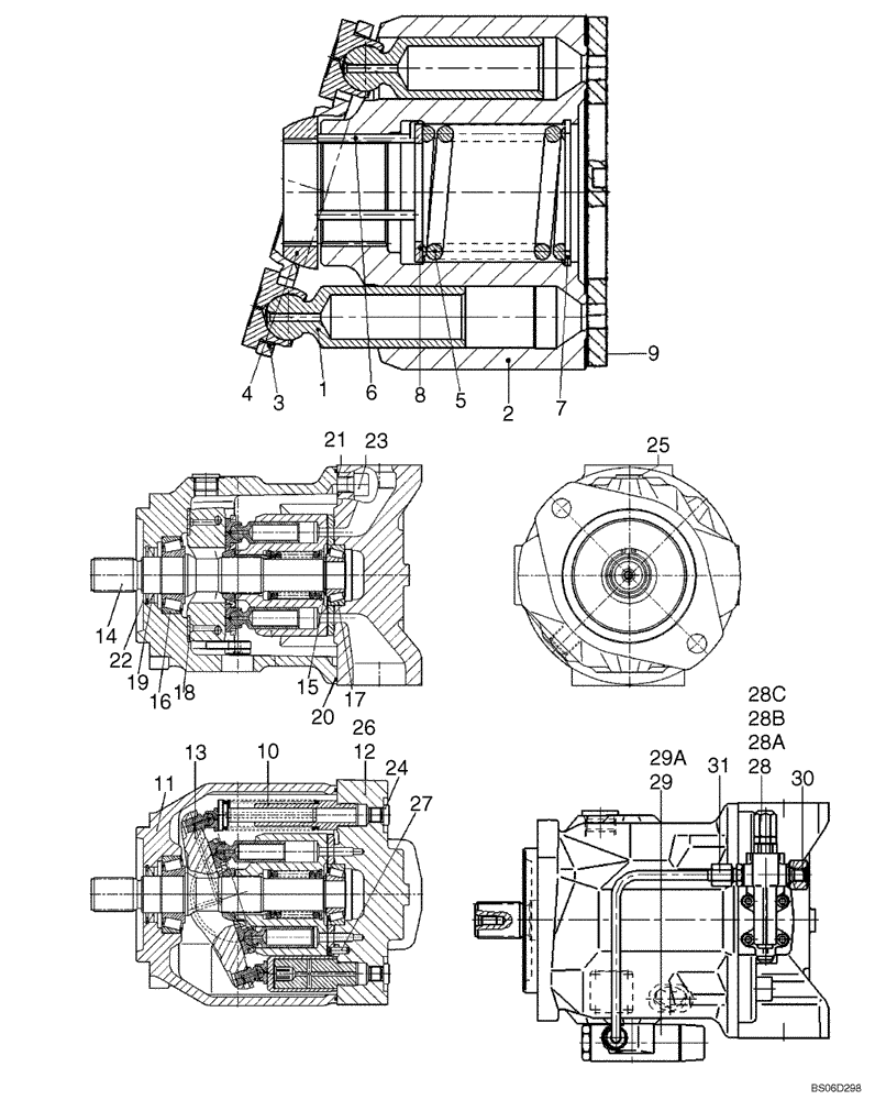
1

87538191

PISTON

1шт.

2

8605109

BARREL

1шт.

3

87538192

PLATE

Retaining

1шт.

4

87538193

BALL

Retaining

1шт.

5

8605112

SPRING

1шт.

6

8605114

PIN

Pressure

1шт.

7

8605115

RING

Sealing

1шт.

8

8605116

THRUST WASHER

1шт.

9

87538201

PLATE

Control; Replaces 87538194

1шт.

10

8605088

CONTROL

Unit

1шт.

11

87538195

HOUSING

Pump

1шт.

12

87538196

PLATE

Port

1шт.

13

8605090

PLATE

Swash

1шт.

14

8605091

SHAFT

Drive

1шт.

15

8605092

SHIM

1шт.

16

8604957

TAPERED BEARING

1шт.

17

87538197

TAPERED BEARING

1шт.

18

8605095

SHELL

Cradle

2шт.

19

8605096

SEAL

Shaft

1шт.

20

8605097

O-RING

1шт.

21

8605098

O-RING

4шт.

22

8604954

RING

1шт.

23

8605100

HEX SOC SCREW

Socket

4шт.

24

8605101

PLUG

2шт.

25

87538198

PLUG

Locking

1шт.

26

87538199

PIN

Double Break Off

1шт.

27

87538200

PIN

Cylinder

1шт.

28

8605083

PILOT VALVE

Incl. 28A - 28C

1шт.

28a

8605117

O-RING,1.78mm Thk x 7.65mm ID, -11, 70 Duro

1шт.

28b

8605118

SERRATED SCREW

1шт.

28c

8605119

PLUG

1шт.

29

87538204

CONTROL VALVE

Incl. 29A

1шт.

29a

87538205

O-RING

1шт.

30

87538206

ADAPTER

1шт.

31

8605085

TUBE

1шт.

Выбрано товаров: 38