Запчасти Case 521D (08-19A) - VALVE ASSY - LOADER CONTROL - TWO, THREE, FOUR SPOOL - Z-BAR (08) - HYDRAULICS

Схема запчастей Case 521D - (08-19A) - VALVE ASSY - LOADER CONTROL - TWO, THREE, FOUR SPOOL - Z-BAR (08) - HYDRAULICS
5
9
13f
13c
4
8a
11
6f
12
14
6b
13d
10d
6a
6d
10b
8e
7
6c
15b
6e
8b
4
5
42
13e
11a
2
7
12
10a
8d
1
3
15a
5
5
5
9
13b
43
10c
8c
8f
41
7
13a
FIT
1:1
100%

Артикул

Название

Примечание

Количество

REF

INSTRUCTION

Z-BAR LOADER

1шт.

87307984

HYDRAULIC VALVE

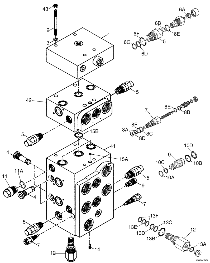
Four Spool; Incl. 1 - 43; Also Includes Figure(s) 08-19B, 08-19C

1шт.

87307983

HYDRAULIC VALVE

Three Spool; Incl. 1 - 42; Also Includes Figure(s) 08-19B, 08-19C

1шт.

87307983R

REMAN-HYD VALVE

Reman Valve - Three Spool; Incl. 1 - 42; Also Includes Figure(s) 08-19B, 08-19C

1шт.

87307983C

CORE-VALVE HYD

Return Number

1шт.

87307982

HYDRAULIC VALVE

Two Spool; Incl. 1 - 41; Also Includes Figure 08-19B

1шт.

1

87311889

PLATE

Valve

1шт.

2

87311891

STUD

M8 x 190; 10.9; Four Spool Valve

4шт.

2

87516596

STUD,M8 x 120mm, Cl 10.9

M8 x 120; 10.9; Three Spool Valve; Not Illustrated

4шт.

2

962-8055

SCREW,Hex Skt, M8 x 55mm, Cl 10.9

M8 x 55; 10.9; Two Spool Valve; Not Illustrated

4шт.

3

892-11008

LOCK WASHER,8mm ID

4шт.

4

8604567

VALVE, CHECK

4шт.

5

8604568

HYDRAULIC VALVE

Anticavitation; Includes Spool, (3) O-Rings, Thrust Ring, Spool Seal And Lock-Nut

2-6шт.

6

8604588

KIT

Anticavitation; For Ref 5; Incl 6A - 6F

1шт.

6a

NSS

NOT SOLD SEPARAT

Lock Nut; M10

1шт.

6b

NSS

NOT SOLD SEPARAT

Spool Seal

1шт.

6c

NSS

NOT SOLD SEPARAT

O-Ring; 14 x 0.178

1шт.

6d

NSS

NOT SOLD SEPARAT

Thrust Ring; 14 x 17 x 1

1шт.

6e

NSS

NOT SOLD SEPARAT

O-Ring; 15.6 x 1.78

1шт.

6f

NSS

NOT SOLD SEPARAT

O-Ring; 21.95 x 1.78

1шт.

7

8602925

VALVE PRESSURE RELIE

2шт.

8

8604590

SEAL KIT

Pressure Relief Valve; For Ref 7; Incl 8A - 8F

1шт.

8a

NSS

NOT SOLD SEPARAT

Thrust Ring; 7.3/9.5 x 0.7

2шт.

8b

NSS

NOT SOLD SEPARAT

Thrust Ring; 9.91 x 1.35

1шт.

8c

NSS

NOT SOLD SEPARAT

Thrust Ring; 11.56 x 1.35

1шт.

8d

NSS

NOT SOLD SEPARAT

O-Ring; 8.50 x 1.5

1шт.

8e

NSS

NOT SOLD SEPARAT

O-Ring;9.25 x 1.78

1шт.

8f

NSS

NOT SOLD SEPARAT

O-Ring; 10.82 x 1.78

1шт.

9

8602915

HYDRAULIC VALVE

Flow Limiting

1шт.

10

8602916

SEAL KIT

Flow Limiting Valve; For Ref 9; Incl. 10A - 10D

1шт.

10a

NSS

NOT SOLD SEPARAT

O-Ring; 8.5 x 1.5

1шт.

10b

NSS

NOT SOLD SEPARAT

O-Ring; 10.82 x 1.78

1шт.

10c

NSS

NOT SOLD SEPARAT

Thrust Ring; 7.3/9.5 x 0.7

2шт.

10d

NSS

NOT SOLD SEPARAT

Thrust Ring; 11.56 x 1.35

1шт.

11

87311965

INSERT

Pilot Pressure Insert; Incl. 11A

1шт.

11a

NSS

NOT SOLD SEPARAT

O-Ring; 23.47 x 2.62

1шт.

12

8602913

HYDRAULIC VALVE

Flow Limiting

1шт.

13

8604592

SEAL KIT

Flow Limiting Valve; For Ref 12; Incl. 13A - 13F

1шт.

13a

NSS

NOT SOLD SEPARAT

Profile Seal; M12 x 1.5

1шт.

13b

NSS

NOT SOLD SEPARAT

O-Ring; 18.77 x 1.78

1шт.

13c

NSS

NOT SOLD SEPARAT

Thrust Ring; 11.2/14 x 1

1шт.

13d

NSS

NOT SOLD SEPARAT

O-Ring; 12.42 x 1.78

1шт.

13e

NSS

NOT SOLD SEPARAT

O-Ring;10.82 x 1.78

1шт.

13f

NSS

NOT SOLD SEPARAT

Thrust Ring; 10.2/13 x 1

2шт.

14

87362307

CHECK VALVE

Replaces 8604574

1шт.

14

87362307

CHECK VALVE

VALVE, CHECK; Replaces 8604574

1шт.

15

8604575

SEAL KIT

For Main Housing Block; Ref 41; Incl 15A, 15B

1шт.

15a

NSS

NOT SOLD SEPARAT

O-Ring; 7.65 x 1.78

1шт.

15b

NSS

NOT SOLD SEPARAT

O-Ring; 18.64 x 3.53

3шт.

41

NSS

NOT SOLD SEPARAT

Main Housing

1шт.

42

NSS

NOT SOLD SEPARAT

Section Housing

1-2шт.

43

829-1408

NUT,Hex, M8 x 1.25, Cl 10.9

Four Spool Valve

4шт.

Выбрано товаров: 52