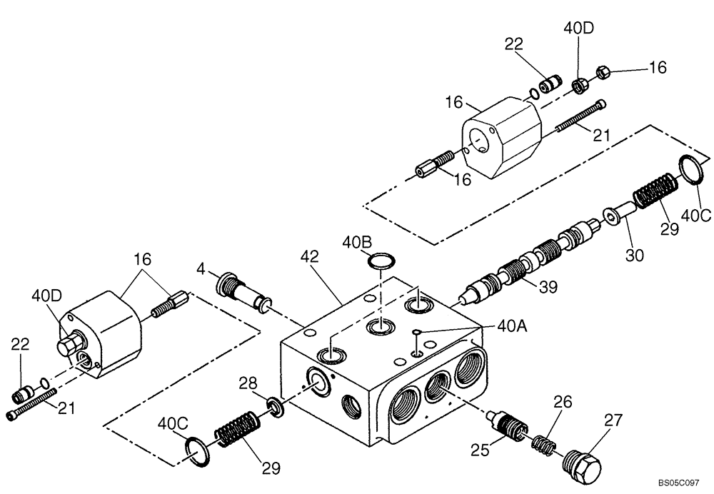
Запчасти Case 521D (08-20C) - VALVE ASSY - LOADER CONTROL - VALVE SECTION - XT (08) - HYDRAULICS

Схема запчастей Case 521D - (08-20C) - VALVE ASSY - LOADER CONTROL - VALVE SECTION - XT (08) - HYDRAULICS
29
16
40a
22
28
30
42
4
40b
40d
39
16
26
21
40c
29
16
40c
25
22
16
27
21
40d
FIT
1:1
100%

Артикул

Название

Примечание

Количество

REF

INSTRUCTION

FOR THREE SPOOL AND FOUR SPOOL VALVES; XT

1шт.

4

8604567

VALVE, CHECK

1шт.

16

NSS

NOT SOLD SEPARAT

Housing

1шт.

21

864-5055

HEX SOC SCREW,M5 x 55mm, Cl 8.8

M5 X 55; 8.8

4шт.

22

8604758

VALVE, CHECK

2шт.

25

8604579

VALVE

1шт.

26

8604580

SPRING

Compression

1шт.

27

8604781

VALVE

Throttle Check

1шт.

28

8604582

RETAINER

Spring

1шт.

29

8604583

SPRING

Compression

2шт.

30

87311984

RETAINER

Retainer

1шт.

39

87311975

SPOOL

Used On Valves 87307986, 87307988, 87307990

1шт.

39

87692671

SPOOL

SPOOL, Used On Valves 87680515, 87680516, 87680517

1шт.

40

8604566

SEAL KIT

For Valve Section; Ref 43; Incl. 40A - 40D

1шт.

40a

NSS

NOT SOLD SEPARAT

O-Ring; 7.65 x 1.78

1шт.

40b

NSS

NOT SOLD SEPARAT

O-Ring; 18.64 x 3.53

3шт.

40c

NSS

NOT SOLD SEPARAT

O-Ring; 25.07 x 2.62

2шт.

40d

NSS

NOT SOLD SEPARAT

Lock Nut; M8 x 1

2шт.

42

NSS

NOT SOLD SEPARAT

Valve Section

1шт.

Выбрано товаров: 19