Запчасти Case 521D (02-13) - MUFFLER - EXHAUST SYSTEM - STANDARD/ASPIRATOR SPARK ARRESTER (02) - ENGINE

Схема запчастей Case 521D - (02-13) - MUFFLER - EXHAUST SYSTEM - STANDARD/ASPIRATOR SPARK ARRESTER (02) - ENGINE
2
19
10
5
7
4
1
4
17
3
14
11
9
12
1a
13
16
4
6
8
1
1a
15
18
4
4
2
FIT
1:1
100%

Артикул

Название

Примечание

Количество

REF

INSTRUCTION

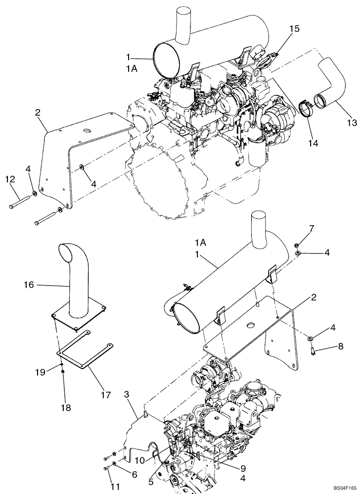
MOUNTING FOR STD & ASPIRATOR MUFFLERS; TIER II MODELS

1шт.

1

87444405

MUFFLER

Standard

1шт.

1a

87451542

MUFFLER

Spark Arrestor & Aspirated

1шт.

2

87452045

BRACKET

Muffler

1шт.

3

87444401

BRACKET

Support; Muffler Bracket

1шт.

4

896-15012

WASHER,13.5mm ID x 28mm OD x 4mm Thk

13,5 x 28 x 4 mm

11шт.

5

896-15010

WASHER,11mm ID x 24mm OD x 3mm Thk

11 x 24 x 3 mm; Use With Spark Arrester

2шт.

6

896-15008

WASHER,9mm ID x 21mm OD x 2.5mm Thk

9 x 21 x 2,5 mm

2шт.

7

829-1412

NUT,M12, Cl 10.9

4шт.

8

627-10035

BOLT,Hex, M10 x 1.5 x 35mm, Cl 10.9, Full Thd

2шт.

9

627-12045

BOLT,Hex, M12 x 1.75 x 45mm, Cl 10.9, Full Thd

2шт.

10

627-10025

BOLT,Hex, M10 x 1.5 x 25mm, Cl 10.9, Full Thd

2шт.

12

827-12130

BOLT,Hex, M12 x 1.75 x 130mm, Cl 10.9

M12 x 130

2шт.

13

86983216

TUBE,76.20 mm OD

Exhaust

1шт.

14

J903652

CLAMP

V Band

1шт.

15

299456A1

CLAMP,80.5mm ID

Muffler

1шт.

16

408195A1

PIPE, EXHAUST SYSTEM

PIPE, EXHAUST Components Not Service Separately

1шт.

17

408196A1

PLATE

Exhaust Stack Backing

1шт.

18

832-10410

NUT,M10 x 1.5, Cl 8

4шт.

19

895-18010

WASHER,10.5mm ID x 18mm OD x 1.6mm Thk

4шт.

11

627-8025

BOLT,Hex, M8 x 1.25 x 25mm, Cl 10.9, Full Thd

2шт.

Выбрано товаров: 21