Запчасти Case 521D (09-08A) - COUPLER, HYDRAULIC - XT - JRB (09) - CHASSIS

Схема запчастей Case 521D - (09-08A) - COUPLER, HYDRAULIC - XT - JRB (09) - CHASSIS
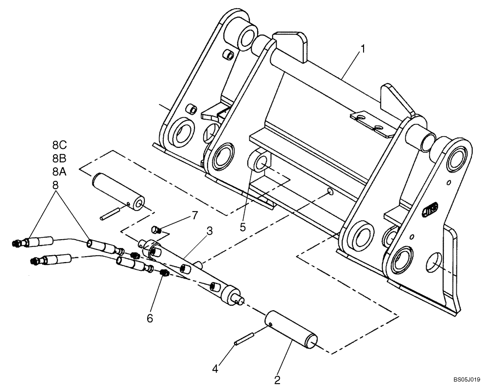
8b
2
3
8a
5
8
4
1
7
8c
6
FIT
1:1
100%

Артикул

Название

Примечание

Количество

REF

INSTRUCTION

87451620, COUPLER ASSEMBLY WITH KIT; JRB; XT; Vendor Part Number; 90A3031

1шт.

1

REF

INSTRUCTION

COUPLER ASSEMBLY; JRB; XT; Vendor Part Number; D22289

1шт.

REF

INSTRUCTION

HYDRAULIC KIT; JRB; XT; Vendor Part Number; 96A0115

1шт.

2

REF

INSTRUCTION

PLUNGER; JRB; XT; Vendor Part Number; A23264

2шт.

3

REF

INSTRUCTION

HYDRAULIC CYLINDER; JRB; XT; Vendor Part Number; B18865

1шт.

4

REF

INSTRUCTION

ROLLPIN; 3/8 X 1-3/4; JRB; XT; Vendor Part Number; 124038000175

2шт.

5

REF

INSTRUCTION

GREASE ZERK; JRB; XT; Vendor Part Number; A31294-1

2шт.

6

REF

INSTRUCTION

STR THD CONNECTOR; JRB; XT; Vendor Part Number; 46036-02

2шт.

7

REF

INSTRUCTION

HEX PLUG; JRB; XT; Vendor Part Number; 46154-05

1шт.

8

REF

INSTRUCTION

HOSE ASSEMBLY; JRB; XT; Vendor Part Number; 570046-41; Incl. 8A - 8C

2шт.

8a

REF

INSTRUCTION

FITTING; JRB; XT; Vendor Part Number; 47036-02

1шт.

8b

REF

INSTRUCTION

FITTING; JRB; XT; Vendor Part Number; 47020-02

1шт.

8c

REF

INSTRUCTION

HOSE; JRB; XT; Vendor Part Number; 56

1шт.

Выбрано товаров: 13