Запчасти Case 521D (09-20A) - FENDERS, REAR - WIDE - IF USED (09) - CHASSIS

Схема запчастей Case 521D - (09-20A) - FENDERS, REAR - WIDE - IF USED (09) - CHASSIS
22
5
16
20
23
6
8
18
10
13
24
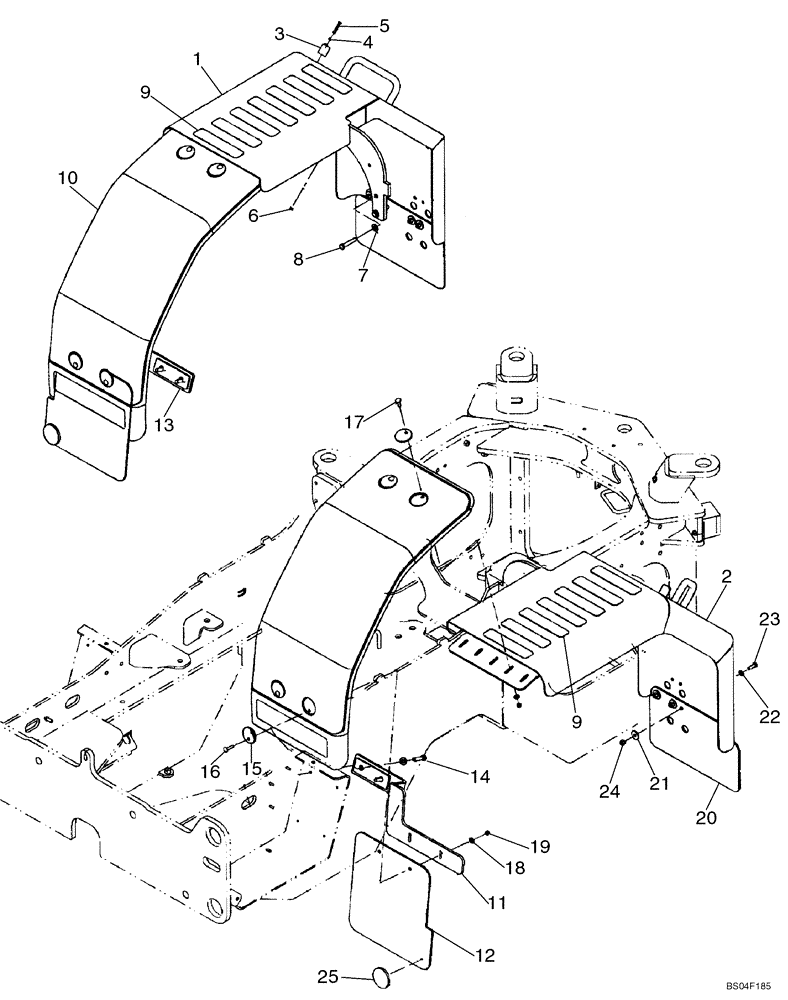
1
2
9
19
21
17
4
15
12
11
9
3
25
7
14
FIT
1:1
100%

Артикул

Название

Примечание

Количество

REF

INSTRUCTION

TIER II WIDE FENDER OPTION

1шт.

1

87434919

SUPPORT ASSY.

Left Side

1шт.

2

87434923

SUPPORT ASSY.

Right Side

1шт.

3

L126483

BUMPER

2шт.

4

895-11006

WASHER,6.6mm ID x 12mm OD x 1.6mm Thk

4шт.

5

827-6045

BOLT,Hex, M6 x 45mm, Cl 10.9

2шт.

6

832-10406

NUT,M6 x 1, Cl 8

2шт.

7

896-15012

WASHER,13.5mm ID x 28mm OD x 4mm Thk

13,5 x 28 x 4 mm

8шт.

8

827-12065

BOLT,Hex, M12 x 1.75 x 65mm, Cl 10.9

4шт.

9

D55216

PAD,2" x 9"

2 x 9 in

14шт.

10

402479A2

FENDER

Front Small

2шт.

11

394418A1

BRACKET

Right Side

1шт.

12

87451033

MUDFLAP

Rear

2шт.

13

394422A1

BRACKET

Left Side

1шт.

14

827-12050

BOLT,Hex, M12 x 1.75 x 50mm, Cl 10.9

4шт.

15

345357A1

SQ HOLE WASHER

2-1/2; Square

8шт.

16

612-7

CARRIAGE BOLT,M8 x 40mm, Class 4.6

M8 x 40; 4.6

4шт.

17

612-6

CARRIAGE BOLT,M8 x 30mm, Class 4.6

4шт.

18

895-15008

WASHER,9mm ID x 20mm OD x 1.6mm Thk

8шт.

19

832-10408

NUT,M8 x 1.25, Cl 8.8

8шт.

20

87436096

MUDFLAP

Rear

2шт.

21

39519

WASHER,10.31mm ID x 34.9mm OD x 3.57mm Thk

8шт.

22

895-11010

WASHER,11mm ID x 20mm OD x 2mm Thk

8шт.

24

832-10410

NUT,M10 x 1.5, Cl 8

8шт.

25

76034682

REFLECTOR

80mm Diameter

2шт.

23

627-10030

BOLT,Hex, M10 x 1.5 x 30mm, Cl 10.9, Full Thd

8шт.

Выбрано товаров: 26