Запчасти Case 521D (09-26B) - FRAME, FRONT (Z BAR LOADER) - IF USED (09) - CHASSIS

Схема запчастей Case 521D - (09-26B) - FRAME, FRONT (Z BAR LOADER) - IF USED (09) - CHASSIS
7
11
10
12
4
1
11
3
5
2
9
8
13
6
1
FIT
1:1
100%

Артикул

Название

Примечание

Количество

REF

INSTRUCTION

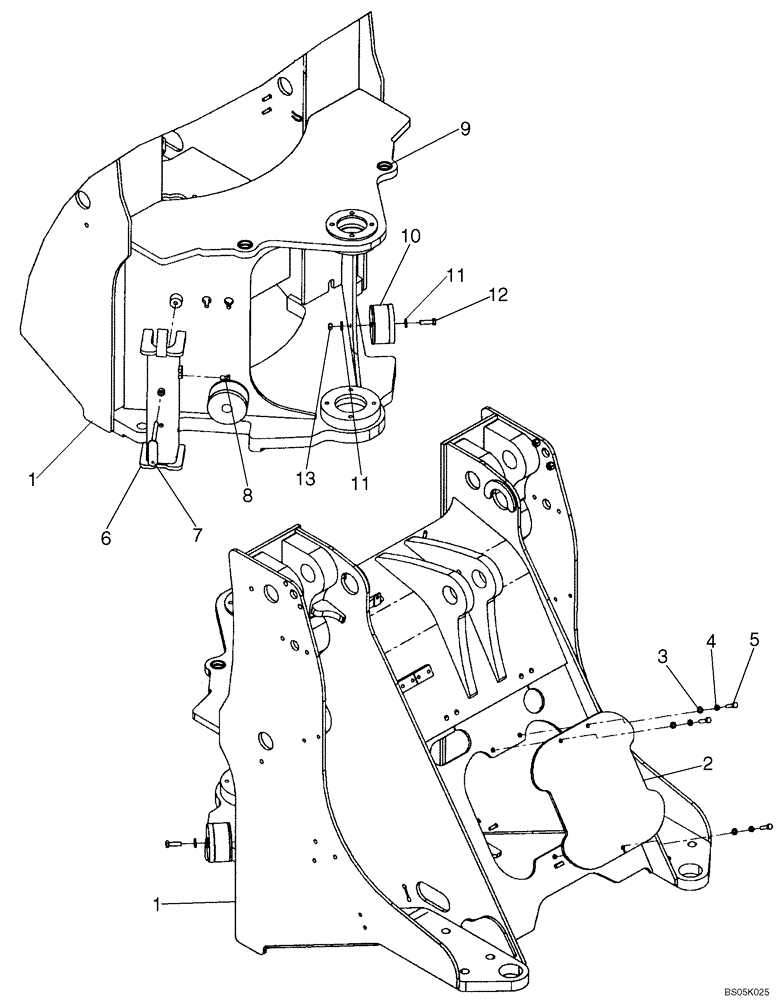
Z-BAR LOADER

1шт.

1

87343561

CHASSIS

Front Chassis

1шт.

2

8605898

COVER

Valve

1шт.

3

895-11010

WASHER,11mm ID x 20mm OD x 2mm Thk

3шт.

4

892-11010

LOCK WASHER,M10

3шт.

5

627-10040

BOLT,Hex, M10 x 1.5 x 40mm, Cl 10.9, Full Thd

3шт.

6

406347A1

SUPPORT ASSY.

1шт.

7

406390A1

HANDLE

1шт.

8

627-12020

BOLT,Hex, M12 x 1.75 x 20mm, Cl 10.9, Full Thd

1шт.

9

380602A1

BUSHING

2шт.

10

8500043

DAMPER,125mm OD x 70mm L

Articulation

2шт.

11

896-15012

WASHER,13.5mm ID x 28mm OD x 4mm Thk

13.5 x 28 x 4mm

4шт.

12

627-12040

BOLT,Hex, M12 x 1.75 x 40mm, Cl 10.9, Full Thd

2шт.

13

829-1412

NUT,M12, Cl 10.9

2шт.

Выбрано товаров: 0