Запчасти Case 521D (09-58) - COVERS - DRIVE BELT (WITHOUT AIR CONDITIONING) (09) - CHASSIS

Схема запчастей Case 521D - (09-58) - COVERS - DRIVE BELT (WITHOUT AIR CONDITIONING) (09) - CHASSIS
5
6
5
7
4
4
6
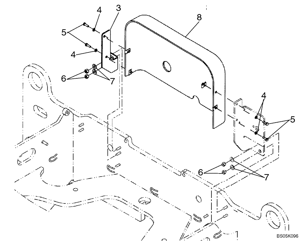
8
4
3
7
FIT
1:1
100%

Артикул

Название

Примечание

Количество

REF

INSTRUCTION

WITHOUT AIR CONDITIONING

1шт.

8

87408421

GUARD

1шт.

2

833-40306

SPRING NUT,M6, U

4шт.

3

8602882

BRACKET

Engine Guard Mounting; Right; Two Slots; If Used

1шт.

3

87368536

BRACKET

BRACKET Engine Guard Mounting; Right; One Slot; If Used; Not Illustrated

1шт.

4

892-11006

LOCK WASHER,M6

4шт.

5

627-6020

BOLT,Hex, M6 x 1 x 20mm, Cl 10.9, Full Thd

4шт.

6

832-10408

NUT,M8 x 1.25, Cl 8.8

4шт.

7

895-15008

WASHER,9mm ID x 20mm OD x 1.6mm Thk

4шт.

Выбрано товаров: 9