Качественные детали и логистика
Оригинальные и аналоговые запчасти с доставкой по России, Казахстану и Беларуси
©2022 PartSell ООО "Система" ИНН 2463123282 ОГРН 1212400004838
Центральный офис: г. Красноярск, Академика Киренского, д.87, пом.4
Телефон: 8 (800) 777-65-74 Email: zakaz@partsell.ru
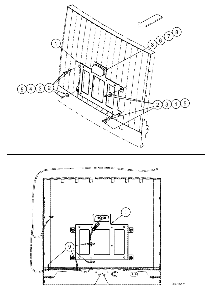
(09-69) - LICENSE PLATE LIGHT
№
Артикул
Название
Примечание
Количество
1
193446A1
PLATE
License Plate
1шт.
2
895-15006
WASHER,6.6mm ID x 25mm OD x 1.6mm Thk
4шт.
3
614-6020
BOLT,Hex, M6 x 1 x 20mm, Cl 8.8, Full Thd
6шт.
4
895-25006
WASHER,6.6mm ID x 18mm OD x 1.6mm Thk
Replaces 895-11006
5
832-10406
NUT,M6 x 1, Cl 8
6
120229A1
LIGHT
7
892-11006
LOCK WASHER,M6
2шт.
8
829-1406
NUT,Hex, M6 x 1, Cl 10.9
M6; 10.9
9
L18337
CABLE TIE,9.95"-12.1" lg
CABLE STRAP
Выбрано товаров: 0