Запчасти Case 521D (03-01) - CONTROLS - THROTTLE, FOOT (03) - FUEL SYSTEM

Схема запчастей Case 521D - (03-01) - CONTROLS - THROTTLE, FOOT (03) - FUEL SYSTEM
6
14
7
5
21
3
4
4
12
3
2
1
2
18
4
16
19
20
17
15
9
8
10
4
13
11
10
FIT
1:1
100%

Артикул

Название

Примечание

Количество

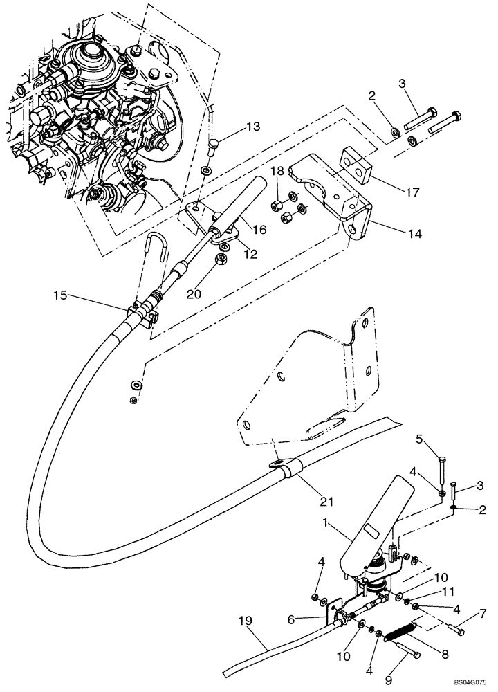
1

295157A1

PEDAL ASSY.

See Figure 03-02

1шт.

2

895-11006

WASHER,6.6mm ID x 12mm OD x 1.6mm Thk

10шт.

3

827-6040

BOLT,Hex, M6 x 40mm, Cl 10.9

5шт.

4

829-1408

NUT,Hex, M8 x 1.25, Cl 10.9

5шт.

5

627-8065

BOLT,Hex, M8 x 1.25 x 65mm, Cl 10.9, Full Thd

1шт.

6

434626A1

PLATE

Throttle Spring

1шт.

8

L78607

SPRING

Extension

1шт.

9

827-8060

BOLT,Hex, M8 x 1.25 x 60mm, Cl 10.9

1шт.

10

895-15008

WASHER,9mm ID x 20mm OD x 1.6mm Thk

4шт.

11

892-11008

LOCK WASHER,8mm ID

2шт.

12

86991770

LEVER

Throttle

1шт.

13

627-6016

BOLT,Hex, M6 x 1 x 16mm, Cl 10.9, Full Thd

2шт.

14

87400213

BRACKET

Throttle Support

1шт.

15

259529A1

CLAMP BRACKET

Accelerator Cable

1шт.

16

225619A1

BALL JOINT

1шт.

17

87400214

SPACER

Throttle Support

1шт.

18

832-10406

NUT,M6 x 1, Cl 8

2шт.

19

87400177

CABLE

1шт.

19

87360204

CABLE PULLING GRIP

CABLE Replaces 87400177

1шт.

20

231-4644

LOCK NUT,1/4"-28, GB

1шт.

21

515-23143

CLAMP,9/16", Insul, 3/8" Bolt

(14.3 mm)

1шт.

7

827-8035

BOLT,Hex, M8 x 1.25 x 35mm, Cl 10.9

1шт.

Выбрано товаров: 22