Запчасти Case 621D (07-09) - ACCUMULATOR - BRAKE, PARKING BRAKE (07) - BRAKES

Схема запчастей Case 621D - (07-09) - ACCUMULATOR - BRAKE, PARKING BRAKE (07) - BRAKES
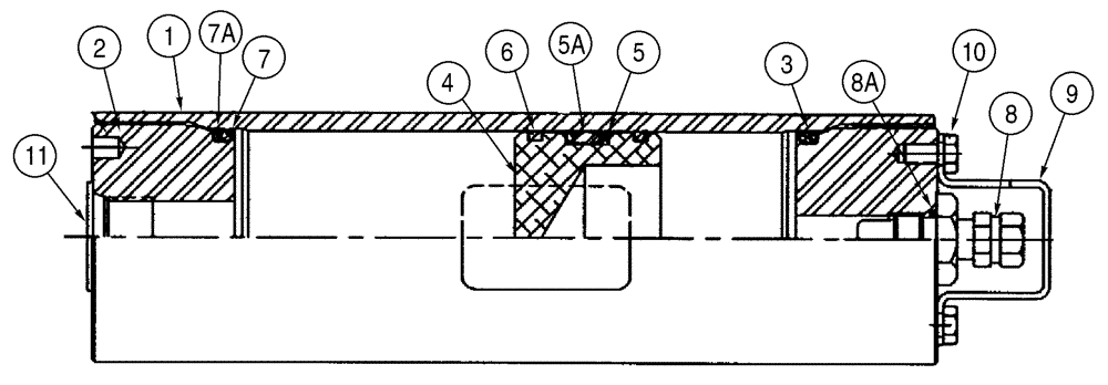
8a
1
7
3
5a
7a
9
2
5
8
6
10
11
4
FIT
1:1
100%

Артикул

Название

Примечание

Количество

413953A1

ACCUMULATOR

1шт.

Incl. 1 - 11

1шт.

1

NSS

NOT SOLD SEPARAT

Body

1шт.

2

409270A1

GLAND

1шт.

3

409271A1

CAP

1шт.

4

408874A1

PISTON

1шт.

408978A1

SEAL KIT

1шт.

Seal

1шт.

Incl. 5, 6, 7, 8A

1шт.

5

NSS

NOT SOLD SEPARAT

O-Ring

1шт.

5a

NSS

NOT SOLD SEPARAT

Ring, Backup

2шт.

6

NSS

NOT SOLD SEPARAT

Ring, Wear

2шт.

7

NSS

NOT SOLD SEPARAT

Seal

2шт.

7a

NSS

NOT SOLD SEPARAT

Seal

2шт.

192900A1

VALVE

1шт.

Incl. 8, 8A

1шт.

8

NSS

NOT SOLD SEPARAT

Valve, Pressure

1шт.

8a

NSS

NOT SOLD SEPARAT

O-Ring

2шт.

9

337196A1

GUARD

1шт.

10

S301367

SCREW

2шт.

11

NSS

NOT SOLD SEPARAT

Plug

1шт.

Выбрано товаров: 21