Запчасти Case 621D (09-15) - INSULATION - HOOD (09) - CHASSIS

Схема запчастей Case 621D - (09-15) - INSULATION - HOOD (09) - CHASSIS
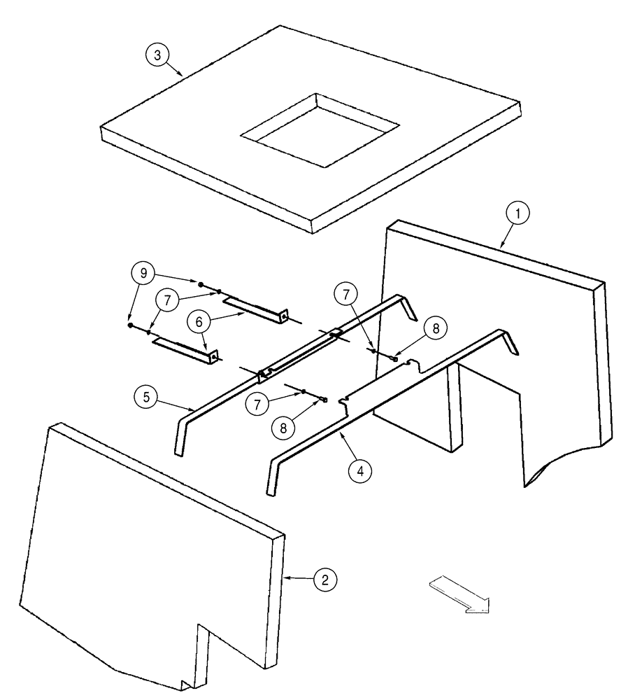
7
5
1
8
8
4
2
7
6
7
3
9
FIT
1:1
100%

Артикул

Название

Примечание

Количество

1

410926A1

FOAM

1шт.

Left Hand

1шт.

2

410927A1

FOAM

1шт.

Right Hand

1шт.

3

410928A1

FOAM

1шт.

Top

1шт.

4

408048A1

BRACKET

1шт.

Front

1шт.

Use Existing Hardware

1шт.

5

408049A1

BRACKET

1шт.

Rear

1шт.

Use Existing Hardware

1шт.

6

408050A1

BRACKET

2шт.

7

895-11006

WASHER,6.6mm ID x 12mm OD x 1.6mm Thk

4шт.

8

627-6020

BOLT,Hex, M6 x 1 x 20mm, Cl 10.9, Full Thd

2шт.

9

832-10406

NUT,M6 x 1, Cl 8

2шт.

Выбрано товаров: 16