Запчасти Case 621D (02-23) - CYLINDER BLOCK, 6T-590 EMMISSIONS CERTIFIED ENGINE, ENGINE BLOCK HEATER (02) - ENGINE

Схема запчастей Case 621D - (02-23) - CYLINDER BLOCK, 6T-590 EMMISSIONS CERTIFIED ENGINE, ENGINE BLOCK HEATER (02) - ENGINE
36
19a
35
18a
34
11
6
22
41
10
1
16
14
29
52
28
33
2
41
18c
32
5
3
43
13
26
17a
27
32
15
8
37
18
6a
53
40
18d
31
7
30
12a
18b
18e
42
12
25
23
4
6
24
6
7
20
28
17
19
38
9
21
37
7
FIT
1:1
100%

Артикул

Название

Примечание

Количество

362926A1

1шт.

.

Complete Engine

1шт.

.

Less : Starter, Alternator, Fan, Fan Belt, Air Cleaner, Muffler and Exhaust Pipe

1шт.

.

Order 246148A2

1шт.

246148A2

BASIC ENGINE

Less Starter, Alternator, Fan, Fan Belt, Air Cleaner, Muffler, Exhaust Manifold, Flywheel and Housing, Oil Fill and Dipstick, Fuel Injection Pump, Injectors and Lines, Front Pulley, Belt Tensioner, Turbocharger and Aftercooler; See Note

1шт.

246148A2R

REMAN-BASIC ENGINE

Remanufactured

1шт.

6-590-LBC

CORE-ENGINE

Return Part Number

1шт.

J933645

SKELETON ENGINE

1шт.

.

Short Block

1шт.

.

With : Stripped Block, Pistons, Connecting Rods and Bearings, Crankshaft and Bearings

1шт.

.

Incl. 1 - 8

1шт.

JR933645

REMAN-SHORT ENGINE

Remanufactured

1шт.

6-590-SHBC

CORE-SHORT ENGINE

Return Part Number, Block Assy., Engine Cyl. Short 6T/6TA

1шт.

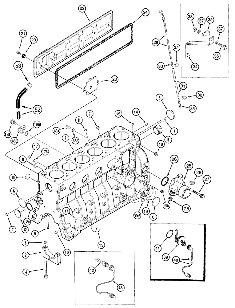
1

J937700

CYLINDER BLOCK

1шт.

.

Stripped Block Assy

1шт.

.

Incl. 2 - 8

1шт.

.

Order J933220

1шт.

2

J936791

BEARING CAP

7шт.

.

Incl. J900068

1шт.

3

J900068

BEARING WASHER

18 mm OD

14шт.

4

J927948

BOLT,Flng, MJ12 x 1.5H6H x 119mm, Cl 12.9

14шт.

5

J940059

BUSHING,54mm ID x 59.38mm OD x 25.4mm L

1шт.

.

Front

1шт.

6

A77782

PLUG

58 mm

5шт.

6a

A77505

PLUG

3/4 PT

2шт.

7

J900956

PLUG

18 mm OD

3шт.

8

41-1616

PLUG,Cup, 1", Stainless

4шт.

A77996

GASKET KIT

1шт.

.

Not Illustrated

1шт.

J933220

PACKAGE,SERVICE

1шт.

.

Incl. 9 - 18D

1шт.

9

J937214

NOZZLE CAP

6шт.

10

J900958

PLUG

32 mm OD

1шт.

11

J900955

PLUG

10 mm OD

3шт.

12

172599

PLUG,Exp, 2 3/8"

60 mm OD

1шт.

12a

J926047

O-RING,0.07" Thk x 2.239" ID

57 mm ID

1шт.

13

J920706

PLUG

22 mm

3шт.

14

J900257

PIN,10.01mm OD x 16mm L

16 mm

2шт.

15

J902343

DOWEL

16 mm OD

2шт.

16

J900068

BEARING WASHER

18 mm OD

2шт.

17

J678923

PLUG,M10 x 1

10 mm

3шт.

.

Incl. 17A

1шт.

17a

637-72081

O-RING,1.6mm Thk x 8.1mm ID, Cl 7, 75 Duro

1шт.

18

217-466

DRAIN PLUG,Sq Soc, 1/2" - 14, NTPF

1шт.

18a

J678921

PLUG

14 mm

1шт.

.

Incl. 18B

1шт.

18b

J678912

O-RING,2.2mm Thk x 11.3mm ID

1шт.

18c

J932296

PLUG

1шт.

.

Incl. 18D

1шт.

18d

J330478

O-RING,0.07" Thk x 0.676" ID

1шт.

18e

844-8016

BOLT,Hex, M8 x 16mm, Cl 8.8

1шт.

19

J931973

TUBE,0.875" OD

1шт.

.

Used with 238-7018

1шт.

19a

238-7018

O-RING,0.07" Thk x 0.739" ID, -18, Cl 7, 75 Duro

1шт.

20

J900267

SEAL

4шт.

21

845-8016

BOLT,Hvy Hex, M8 x 16mm, Cl 8.8

4шт.

22

J927913

COVER

1шт.

23

J907586

BAFFLE

1шт.

.

Also Order J823494

1шт.

23a

J823494

SEALANT

3 oz

1шт.

.

Not Illustrated

1шт.

24

J284623

GASKET

1шт.

25

J916625

CONNECTING BLOCK

1шт.

26

J906697

SEAL,Square, 5.16mm Thk x 50.17mm ID

50 mm ID

1шт.

27

844-10025

BOLT,Hex, M10 x 25mm, Cl 8.8

2шт.

28

A77429

PLUG

1/2 PT

2шт.

29

J937511

DIPSTICK,990.3mm L

1шт.

30

J905802

FITTING,9.53 mm OD x 39 mm L

1шт.

31

J905801

TUBE

1шт.

32

214-1308

HOSE CLAMP,#8, 1/2", Spring

2шт.

33

A77645

TUBE

1шт.

34

247726A1

SUPPORT

1шт.

35

515-21127

CLAMP,1/2", Insul, 1/4" Bolt

1шт.

36

426-412

BOLT,Hex, 1/4" - 20 x 3/4", Gr 8

1шт.

37

495-11028

WASHER,1/4", SAE

(9/32 x 5/8 x 1/16")

2шт.

38

425-104

NUT,1/4"-20, Cl 5

1шт.

196803A1

KIT

120V

1шт.

.

Coolant Heater

1шт.

.

Incl 39 - 41

1шт.

.

North America Only

1шт.

124340A1

KIT

240V

1шт.

.

Coolant Heater

1шт.

.

Incl. 38 - 41

1шт.

.

Europe Only

1шт.

39

NSS

NOT SOLD SEPARAT

Element

1шт.

40

196466A1

ELECTRIC CABLE

1829 mm (72 in)

1шт.

41

J910517

O-RING

1шт.

309651A1

KIT

120V

1шт.

.

Incl. 42, 43

1шт.

.

North America Only

1шт.

309652A1

KIT

240V

1шт.

.

Incl. 42, 43

1шт.

.

Europe Only

1шт.

42

NSS

NOT SOLD SEPARAT

Element

1шт.

43

196466A1

ELECTRIC CABLE

1829 mm (72 in)

1шт.

.

Used With 309651A!

1шт.

43

J905114

ELECTRIC CABLE

1829 mm (72 in)

1шт.

.

Used With 309652A1

1шт.

A77886

PACKAGE, REPAIR

1шт.

.

Engine Block

1шт.

.

Incl. 44 - 51

1шт.

.

Not Illustrated

1шт.

44

J802747

PISTON & RINGS KIT,100MM PISTON DIAMETER

6шт.

.

See Figure 2-85

1шт.

45

J934047

PIN,40mm OD x 82.68mm L

6шт.

.

See Figure 2-85

1шт.

46

A77465

BEARING SET

6шт.

.

See Figure 2-89

1шт.

47

A77405

CRANKSHAFT BEARING

6шт.

.

See Figure 2-77

1шт.

48

A77896

BEARING SET

1шт.

.

See Figure 2-77

1шт.

49

A77925

GASKET KIT

1шт.

.

See Figure 2-91

1шт.

50

J283335

GASKET,2.32mm Thk

1шт.

.

See Figure 2-53

1шт.

51

A77979

GASKET KIT

1шт.

.

See Figure 2-47

1шт.

52

J918612

TUBE,360.00 mm

1шт.

53

J904230

CLAMP,25.4mm

1шт.

Выбрано товаров: 120