Запчасти Case 621D (04-17) - HARNESS, REAR - RELAY PANEL (04) - ELECTRICAL SYSTEMS

Схема запчастей Case 621D - (04-17) - HARNESS, REAR - RELAY PANEL (04) - ELECTRICAL SYSTEMS
19
7
7
6
6
9
13
22
6
20
14
5
9
11
10
14
6
13
15
18
7
6
16
17
3
7
9
6
7
13
21
12
1
14
4
2
10
FIT
1:1
100%

Артикул

Название

Примечание

Количество

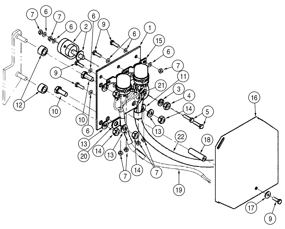
1

125058A1

LARGE PLATE

PLATE, LARGE

1шт.

Relay

1шт.

L124085

CONNECTOR, ELEC

CONNECTOR

1шт.

Terminal

1шт.

Consists Of 2 - 4

1шт.

2

NSS

NOT SOLD SEPARAT

1шт.

Body

1шт.

3

425-106

NUT,3/8"-16, Cl 5

1шт.

4

492-11038

LOCK WASHER,3/8"

1шт.

5

627-6025

BOLT,Hex, M6 x 1 x 25mm, Cl 10.9, Full Thd

2шт.

6

895-11006

WASHER,6.6mm ID x 12mm OD x 1.6mm Thk

9шт.

7

829-1406

NUT,Hex, M6 x 1, Cl 10.9

M6; 10.9

9шт.

9

627-6020

BOLT,Hex, M6 x 1 x 20mm, Cl 10.9, Full Thd

5шт.

10

627-10025

BOLT,Hex, M10 x 1.5 x 25mm, Cl 10.9, Full Thd

2шт.

11

515-23190

CLAMP,3/4", Insul, 3/8" Bolt

1шт.

12

D44696

BUSHING

2шт.

13

895-11010

WASHER,11mm ID x 20mm OD x 2mm Thk

4шт.

14

829-1410

NUT,M10 x 1.5, Cl 10.9

4шт.

15

120398A1

RELAY

24v

2шт.

16

L114612

COVER

1шт.

17

895-25006

WASHER,6.6mm ID x 18mm OD x 1.6mm Thk

1шт.

18

253065A1

SPACER

1шт.

19

379782A1

HARNESS

1шт.

Relay

1шт.

Includes 20

1шт.

20

515-2495

CLAMP,3/8", Insul, 7/16" Bolt

1шт.

21

128785A1

ELECTRICAL WIRE

WIRE

1шт.

Block To Relay

1шт.

22

371157A1

CABLE

1шт.

Выбрано товаров: 29