Запчасти Case 621D (04-24) - LAMP ASSY - LAMPS, REAR COMBINATION (04) - ELECTRICAL SYSTEMS

Схема запчастей Case 621D - (04-24) - LAMP ASSY - LAMPS, REAR COMBINATION (04) - ELECTRICAL SYSTEMS
9
3
8
2
4
5
1
3
9
6
4
FIT
1:1
100%

Артикул

Название

Примечание

Количество

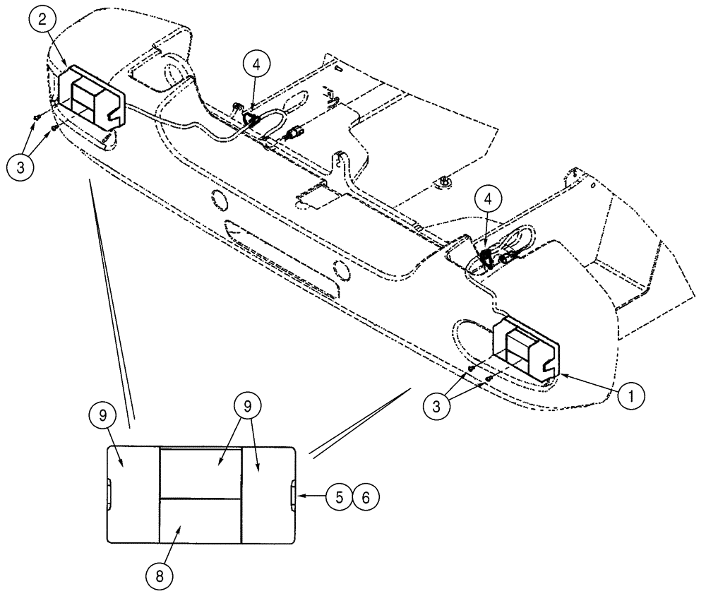
1

379062A2

LIGHT ASSY.

1шт.

Combination, Right Hand

1шт.

2

379064A2

LIGHT ASSY.

1шт.

Combination, Left Hand

1шт.

3

864-6012

HEX SOC SCREW,M6 x 12mm, Cl 8.8

4шт.

4

L18337

CABLE TIE,9.95"-12.1" lg

CABLE STRAP 15 in

2шт.

5

8603178

LENS

1шт.

Left Hand

1шт.

6

8603177

LENS

1шт.

Right Hand

1шт.

7

408146A1

GASKET

1шт.

Not Illustrated

1шт.

8

411085A1

LAMP

24V, 10W, Tail

1шт.

9

410939A1

BULB,S8, 24V, 21W

24V, Stop, Reverse, Turn Signal

3шт.

Выбрано товаров: 0