Запчасти Case 621D (05-08) - PRIORITY VALVE - STEERING, AUXILIARY (05) - STEERING

Схема запчастей Case 621D - (05-08) - PRIORITY VALVE - STEERING, AUXILIARY (05) - STEERING
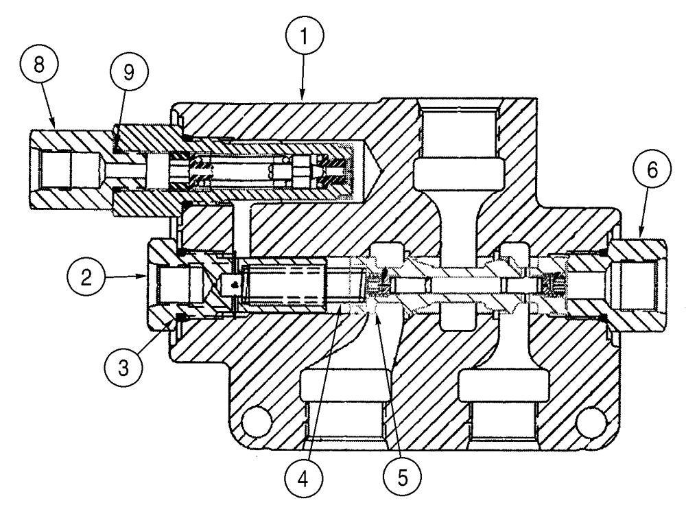
3
4
8
6
2
5
9
1
FIT
1:1
100%

Артикул

Название

Примечание

Количество

392587A1

VALVE

1шт.

Priority

1шт.

Incl. 1 - 9

1шт.

1

NSS

NOT SOLD SEPARAT

Body

1шт.

2

NSS

NOT SOLD SEPARAT

Plug

1шт.

3

237-6008

O-RING,0.087" Thk x 0.644" ID, -908, Cl 6, 90 Duro

1шт.

Boss End

1шт.

4

409185A1

SPRING

1шт.

5

NSS

NOT SOLD SEPARAT

Spool

1шт.

6

NSS

NOT SOLD SEPARAT

Plug

1шт.

8

NSS

NOT SOLD SEPARAT

Adapter

1шт.

9

267-6004

1шт.

Выбрано товаров: 12