Запчасти Case 621D (04-18) - MOUNTING - LAMP, FRONT (04) - ELECTRICAL SYSTEMS

Схема запчастей Case 621D - (04-18) - MOUNTING - LAMP, FRONT (04) - ELECTRICAL SYSTEMS
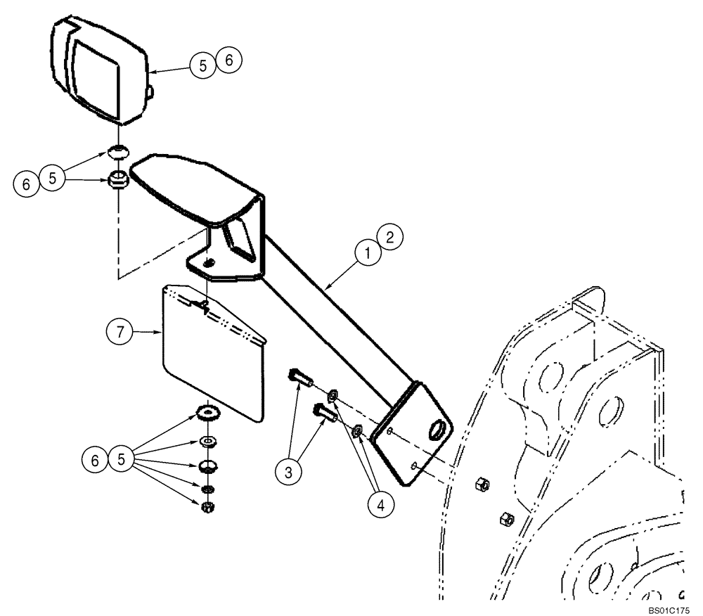
4
1
6
6
7
3
5
6
5
2
5
FIT
1:1
100%

Артикул

Название

Примечание

Количество

1

380897A1

BRACKET

RH

1шт.

2

380898A1

BRACKET

LH

1шт.

3

627-12040

BOLT,Hex, M12 x 1.75 x 40mm, Cl 10.9, Full Thd

4шт.

4

896-11012

WASHER,13.5mm ID x 24mm OD x 3mm Thk

4шт.

5

368055A1

LIGHT,Halogen, 24V, 70W, Clear

Combination; Right Hand; Includes Hardware; See Figure 04-19

1шт.

6

368056A1

LIGHT,Halogen, 24V, 70W, Clear

Combination; Left Hand; Includes Hardware; See Figure 04-19

1шт.

7

407442A1

PLATE

Support For License Plate

1шт.

Выбрано товаров: 7