Запчасти Case 621D (02-04) - COOLANT RECOVERY SYSTEM (02) - ENGINE

Схема запчастей Case 621D - (02-04) - COOLANT RECOVERY SYSTEM (02) - ENGINE
14
8
9
14
2
10
1
4
7
12
4
9
15
13
3
6
16
5
7
9
4
9
9
14
16
4
3
16
11
7
FIT
1:1
100%

Артикул

Название

Примечание

Количество

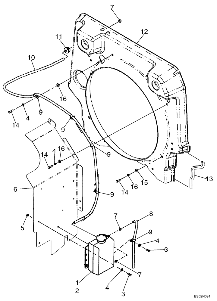
1

103846A1

CONTAINER

1шт.

2

1547924C1

CAP

1шт.

3

627-8020

BOLT,Hex, M8 x 1.25 x 20mm, Cl 10.9, Full Thd

4шт.

4

895-15008

WASHER,9mm ID x 20mm OD x 1.6mm Thk

8шт.

5

832-10408

NUT,M8 x 1.25, Cl 8.8

4шт.

6

86990727

GUARD

Fan

1шт.

7

A171099

HOSE CLAMP,13.2mm - 15.4mm

3шт.

8

87541330

HOSE,7.90 mm ID x 695.00 mm

Cut from 31-2855; Reservoir, Drain; Replaces 396120A1 495 mm (19-1/2")

1шт.

9

515-23143

CLAMP,9/16", Insul, 3/8" Bolt

5шт.

10

366664A1

HOSE,7.9 mm ID x 2260.60 mm

2260 mm (89 in); Cut From 31-2855; Coolant Recovery

1шт.

11

198824C1

GROMMET,12.7mm ID x 41.1mm OD x 26.9mm Thk

1/2 ID

1шт.

12

86983596

SHROUD

Replaced By 87311051

1шт.

12

87451673

SHROUD

If Used; Three Holes Added To Mount Air Inlet Screen; Not Illustrated

1шт.

12

87311051

SHROUD

Not Illustrated; Backwards Compatible

1шт.

13

383541A1

RUBBER SEAL,464mm L

2шт.

15

895-25008

WASHER,9mm ID x 24mm OD x 2mm Thk

6шт.

16

892-11008

LOCK WASHER,8mm ID

10шт.

14

627-8030

BOLT,Hex, M8 x 1.25 x 30mm, Cl 10.9, Full Thd

10шт.

Выбрано товаров: 18