Запчасти Case 621D (02-05) - COOLING SYSTEM - AIR COOLER (02) - ENGINE

Схема запчастей Case 621D - (02-05) - COOLING SYSTEM - AIR COOLER (02) - ENGINE
11
15
12
15
4
8
13
5
3
9
15
1
10
14
15
2
FIT
1:1
100%

Артикул

Название

Примечание

Количество

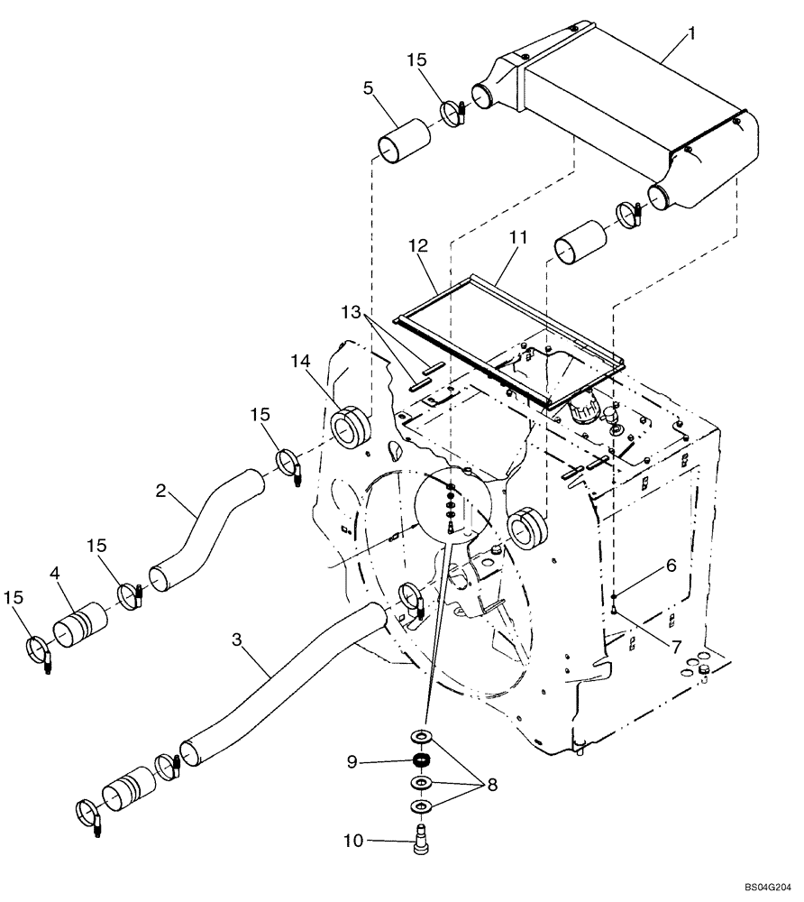
1

347613A1

AFTERCOOLER

1шт.

2

86983212

TUBE,76.20 OD x 400, 154 mm L

Turbo To Air Cooler

1шт.

3

86983213

AIR INTAKE TUBE,76.20 mm OD x 520, 445 mm L

Air Cooler To Intake

1шт.

4

8501051

AIR HOSE,76.20 mm ID x 140.00 mm

Charge Air

2шт.

5

86983214

INTAKE AIR HOSE,76.20 mm ID x 129.00 mm

2шт.

6

892-11008

LOCK WASHER,8mm ID

2шт.

7

627-8016

BOLT,Hex, M8 x 1.25 x 16mm, Cl 10.9, Full Thd

2шт.

8

895-15010

WASHER,11mm ID x 24mm OD x 2mm Thk

6шт.

9

386040R1

SPRING

Poppet Return

2шт.

10

561-703

HEX SOC SCREW,M8 x 32.4, 10 x 16mm shldr, Cl 12.9

Elbow

2шт.

11

381934A1

SEAL

Charge Air

2шт.

12

86983215

SEAL

Charge Air

2шт.

13

86984661

FOAM

Cover Plate

4шт.

14

8500167

SEAL

Air Tubes

2шт.

15

L115549

CLAMP,69.85mm - 92.08mm

8шт.

Выбрано товаров: 15