Запчасти Case 621D (08-03) - HYDRAULICS - FILTER, OIL (08) - HYDRAULICS

Схема запчастей Case 621D - (08-03) - HYDRAULICS - FILTER, OIL (08) - HYDRAULICS
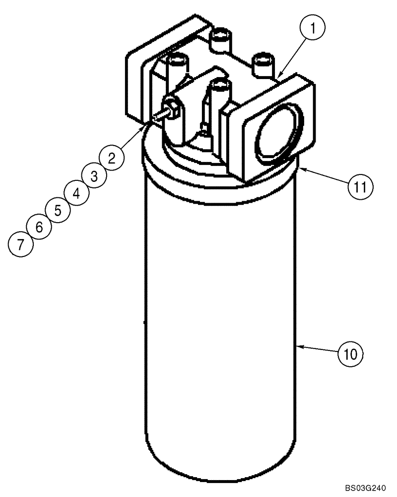
5
10
2
3
11
7
6
1
4
FIT
1:1
100%

Артикул

Название

Примечание

Количество

87403734

FILTER ASSY

Models Without Ride Control; Incl. 1 - 11, Replaced By 87308928

1шт.

87403735

FILTER ASSY

With Reverse Flow; Models With Ride Control; Incl. 1 - 11; Replaced By 87308929

1шт.

87308929

FILTER ASSY

With Reverse Flow; Models With Ride Control; Incl. 1 - 10A; Production Number; For Service Order Indicator Assy 8604802 and Filter Element 87308933

1шт.

87308928

FILTER ASSY

Without Reverse Flow: Models Without Ride Control, Incl 1 - 10A

1шт.

1

NSS

NOT SOLD SEPARAT

Head

1шт.

8604802

PRESSURE SWITCH

Incl. 2 - 7

1шт.

2

NSS

NOT SOLD SEPARAT

Indicator

1шт.

3

NSS

NOT SOLD SEPARAT

Washer, Special; Red/White

1шт.

4

129-667

NUT,#10-32, LH

2шт.

5

493-21020

LOCK WASHER,Int Tooth, #10

(3/16")

1шт.

6

237-6006

O-RING,0.078" Thk x 0.468" ID, -906, Cl 6, 90 Duro

1шт.

7

238-5011

O-RING,0.07" Thk x 0.301" ID, -11, Cl 5, 75 Duro

1шт.

N9086

HYDRAULIC OIL FILTER

Incl. 11; Replaced By 87308933

1шт.

10

87308933

HYDRAULIC OIL FILTER

For Models With Or Without Ride Control; Incl. 10A

1шт.

10a

NSS

NOT SOLD SEPARAT

O-Ring; Not Illustrrated

1шт.

11

D21006

O-RING,0.125" Thk x 3.125" ID, 70 Duro

1шт.

Выбрано товаров: 16