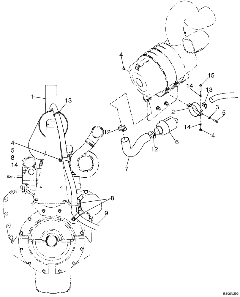
Запчасти Case 621D (02-13A) - MUFFLER - SPARK ARRESTER/ASPIRATOR (02) - ENGINE

Схема запчастей Case 621D - (02-13A) - MUFFLER - SPARK ARRESTER/ASPIRATOR (02) - ENGINE
8
5
14
2
9
14
4
4
8
13
2
1
13
15
12
4
1
5
14
6
FIT
1:1
100%

Артикул

Название

Примечание

Количество

1

87451543

MUFFLER

Spark Arrestor & Aspiratedar

1шт.

2

90-7639T1

CLAMP

Valve

1шт.

3

895-11008

WASHER,9mm ID x 16mm OD x 1.6mm Thk

1шт.

4

832-10408

NUT,M8 x 1.25, Cl 8.8

3шт.

5

627-8025

BOLT,Hex, M8 x 1.25 x 25mm, Cl 10.9, Full Thd

2шт.

6

87433700

VALVE, CHECK

2 - 1-1/4 in.

1шт.

7

87450402

HOSE,50.8mm ID x 405mm L

Check Valve To Air Cleaner

1шт.

7

87312104

HOSE,50.80 mm ID x 1828.80 mm

Bulk Hose; Cut 405mm Length For Ref 7

1шт.

8

515-24349

CLAMP,1 3/8", Insul, 7/16" Bolt

3шт.

9

82016818

FLEXIBLE HOSE

Connector Engine Air Cleaner Aspirator Tube; 405mm ( 16 in )

1шт.

12

214-1436

HOSE CLAMP,#36, 1.81" - 2.75", Type F Worm

2шт.

13

214-1420

HOSE CLAMP,#20, 0.81" - 1.75", Type F Worm

2шт.

14

896-11008

WASHER,9mm ID x 17mm OD x 2mm Thk

4шт.

15

827-8045

BOLT,Hex, M8 x 1.25 x 45mm, Cl 10.9

1шт.

Выбрано товаров: 14