Запчасти Case 621D (09-12) - FRAME, REAR - IF USED (09) - CHASSIS

Схема запчастей Case 621D - (09-12) - FRAME, REAR - IF USED (09) - CHASSIS
4
1
5
6
3
9
7
2
10
8
FIT
1:1
100%

Артикул

Название

Примечание

Количество

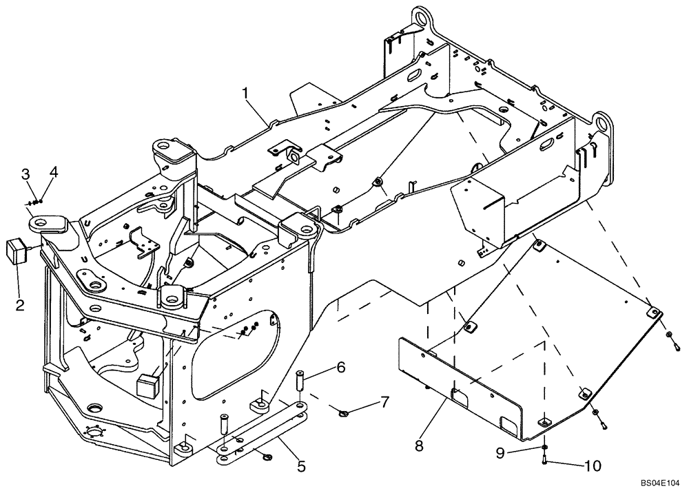
1

87453919

CHASSIS

Used With New Battery Box Covers

1шт.

2

364193A1

DAMPER

2шт.

3

895-11010

WASHER,11mm ID x 20mm OD x 2mm Thk

4шт.

4

829-1410

NUT,M10 x 1.5, Cl 10.9

4шт.

5

412067A1

LOCKING BAR

Rear; Transport and Service

1шт.

6

126268A1

PIN,31.8mm OD x 108mm L

Link

2шт.

7

A30338

PIN

2шт.

8

86994488

SKID PLATE

1шт.

9

896-15012

WASHER,13.5mm ID x 28mm OD x 4mm Thk

13,5 x 28 x 4 mm

6шт.

10

627-12040

BOLT,Hex, M12 x 1.75 x 40mm, Cl 10.9, Full Thd

1шт.

REF

INSTRUCTION

See Figure 09-12 For Pivot Components

1шт.

Выбрано товаров: 11