Запчасти Case 621D (09-12A) - FRAME, REAR - IF USED (09) - CHASSIS

Схема запчастей Case 621D - (09-12A) - FRAME, REAR - IF USED (09) - CHASSIS
10
4
5
2
3
8
9
7
6
1
FIT
1:1
100%

Артикул

Название

Примечание

Количество

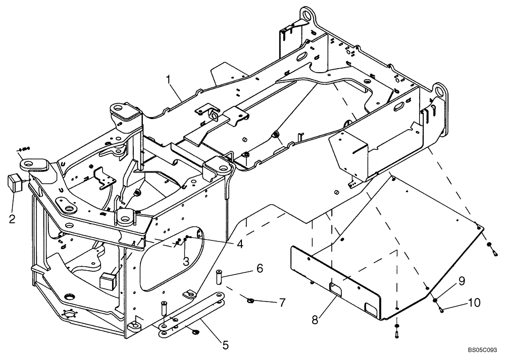
1

87315761

CHASSIS

Used With New Skid Plate Ref 8

1шт.

1

87360083

CHASSIS

CHASSIS; If Used; Without Dampers

1шт.

2

364193A1

DAMPER

Used With Chassis 87315761

2шт.

3

895-11010

WASHER,11mm ID x 20mm OD x 2mm Thk

Used with Chassis 87315761

4шт.

4

829-1410

NUT,M10 x 1.5, Cl 10.9

Used with Chassis 87315761

4шт.

5

412067A1

LOCKING BAR

Rear; Transport and Service

1шт.

6

126268A1

PIN,31.8mm OD x 108mm L

Link

2шт.

7

A30338

PIN

2шт.

8

87315595

PLATE

Skid

1шт.

9

896-15012

WASHER,13.5mm ID x 28mm OD x 4mm Thk

13,5 x 28 x 4 mm

6шт.

10

627-12040

BOLT,Hex, M12 x 1.75 x 40mm, Cl 10.9, Full Thd

1шт.

REF

INSTRUCTION

See Figure 09-12C For Pivot Components

1шт.

Выбрано товаров: 12