Запчасти Case 621D (09-51) - HEATING HOSES (09) - CHASSIS

Схема запчастей Case 621D - (09-51) - HEATING HOSES (09) - CHASSIS
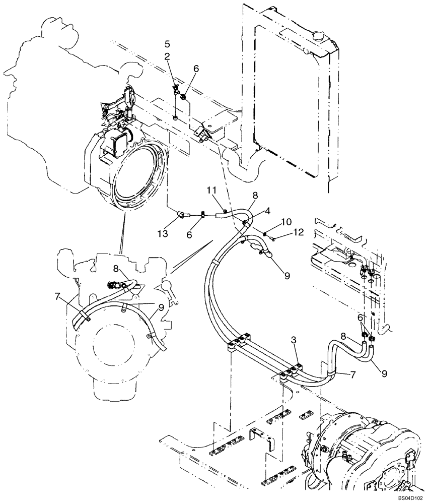
6
7
8
7
5
13
9
6
11
12
10
9
8
2
8
9
3
4
6
FIT
1:1
100%

Артикул

Название

Примечание

Количество

2

301803R1

SHUT-OFF VALVE

1шт.

3

367489A1

BLOCK

4шт.

4

515-24238

CLAMP,15/16", Insul, 7/16" Bolt

23.8 mm (15/16 in) ID

4шт.

5

345-87

SEALANT

Loctite 592

1шт.

6

1954736C1

HOSE CLAMP,#24

2шт.

7

31-1081

CLAMP

2шт.

8

1975801C1

HEATER HOSE,15.50 mm ID x 2743.00 mm

1шт.

9

434780A1

HEATER HOSE,15.88 mm ID x 3099.00 mm

Return; Cut from 97252C1

1шт.

10

896-11010

WASHER,11mm ID x 21mm OD x 2.5mm Thk

1шт.

11

832-10410

NUT,M10 x 1.5, Cl 8

1шт.

12

627-10025

BOLT,Hex, M10 x 1.5 x 25mm, Cl 10.9, Full Thd

1шт.

13

217-425

45 ELBOW,5/8" Hose Barb x 3/4" NPTF

1шт.

Выбрано товаров: 12