Запчасти Case 621D (09-56) - AIR CONDITIONING - CONDENSER (09) - CHASSIS

Схема запчастей Case 621D - (09-56) - AIR CONDITIONING - CONDENSER (09) - CHASSIS
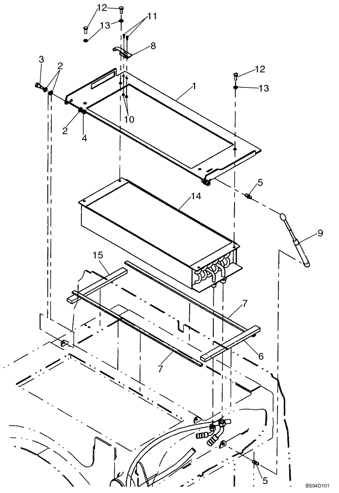
5
4
13
10
7
12
2
6
11
8
9
12
13
3
14
1
2
7
5
15
FIT
1:1
100%

Артикул

Название

Примечание

Количество

REF

INSTRUCTION

MOUNTING

1шт.

1

8602725

PLATE

Condenser

1шт.

2

895-18010

WASHER,10.5mm ID x 18mm OD x 1.6mm Thk

6шт.

3

561-703

HEX SOC SCREW,M8 x 32.4, 10 x 16mm shldr, Cl 12.9

2шт.

4

832-10408

NUT,M8 x 1.25, Cl 8.8

2шт.

5

350662A1

STUD

Ball

2шт.

6

8602498

SEALING STRIP,25mm W x 294mm L x 13mm Thk

1шт.

7

8500133

OIL SEAL

Oil Cooler; Side

2шт.

8

60-4640T1

LATCH

1шт.

9

252550A2

GAS STRUT

Cylinder

1шт.

10

225-14108

NUT,#8-32

2шт.

11

440-1088

SCREW,Cross Pan Hd, #8-32 x 1/2"

2шт.

12

627-8020

BOLT,Hex, M8 x 1.25 x 20mm, Cl 10.9, Full Thd

4шт.

13

892-11008

LOCK WASHER,8mm ID

4шт.

14

8500878

CONDENSER

Air Conditioning

1шт.

15

87432328

SEAL

1шт.

Выбрано товаров: 16