Запчасти Case 621D (02-42) - PISTONS - CONNECTING ROD (02) - ENGINE

Схема запчастей Case 621D - (02-42) - PISTONS - CONNECTING ROD (02) - ENGINE
4
2
1
3
3
FIT
1:1
100%

Артикул

Название

Примечание

Количество

87317251

PISTON & RINGS KIT

Standard

6шт.

87317252

PISTON & RINGS KIT,0.4mm Oversize

0.4mm Oversized

6шт.

87317253

PISTON & RINGS KIT

0.8 mm Oversized

6шт.

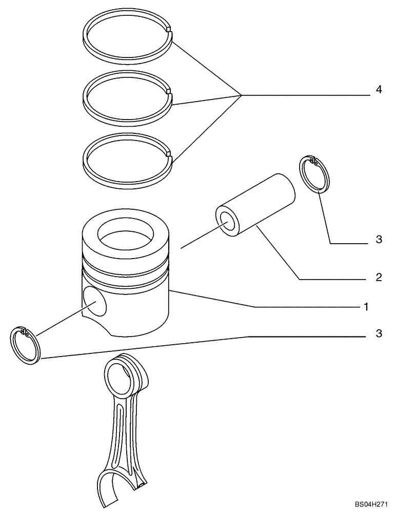
1

2855531

PISTON

Does not include rings; Replaces 4897980

6шт.

1

1931224

PISTON ASSY +0.4

6шт.

1

1931227

PISTON ASSY +0.8

6шт.

2

4892712

PISTON PIN,38mm OD x 82mm L

6шт.

3

4892713

SNAP RING,Int, M26.4

12шт.

3

2854030

SNAP RING,M40.8 OD

Alternate part to 4892713

12шт.

4

87316935

PISTON RINGS KIT

Standard Rings

1шт.

2852037

SEAL,95.3mm ID x 104mm OD x 4mm Thk

Standard

6шт.

2830158

PISTON RING,95.4mm ID x 104mm OD x 2.39mm Thk

Compression; 2.39 mm Wide; Yellow Identification Mark

6шт.

2853805

PISTON RING

Compression; 3.00 mm Wide; Red Identification Mark

6шт.

4

87316944

SET,PISTON RINGS+0.4

SET OF PISTON RINGS +0.4 0.4mm Oversized Rings

1шт.

NSS

NOT SOLD SEPARAT

Oil Control Ring

6шт.

NSS

NOT SOLD SEPARAT

Second Compression Ring

6шт.

NSS

NOT SOLD SEPARAT

Top Compression Ring

6шт.

4

87316959

SET PISTON RINGS+0.8

0.8mm Oversized

1шт.

NSS

NOT SOLD SEPARAT

Oil Control Ring

6шт.

NSS

NOT SOLD SEPARAT

Second Compression Ring

6шт.

NSS

NOT SOLD SEPARAT

Top Compression Ring

6шт.

Выбрано товаров: 21