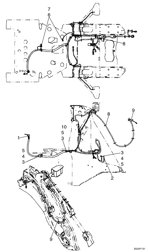
Запчасти Case 621D (04-07A) - HARNESS, FRONT (XT LOADER) - IF USED (04) - ELECTRICAL SYSTEMS

Схема запчастей Case 621D - (04-07A) - HARNESS, FRONT (XT LOADER) - IF USED (04) - ELECTRICAL SYSTEMS
5
4
3
6
3
3
2
9
8
4
8
7
5
1
10
5
9
FIT
1:1
100%

Артикул

Название

Примечание

Количество

REF

INSTRUCTION

XT LOADER; USED WITH NEW RTD COMPONENTS

1шт.

1

8605737

HARNESS

Front

1шт.

2

251444A1

ASSEMBLY

300 HZ

1шт.

3

895-11010

WASHER,11mm ID x 20mm OD x 2mm Thk

11 x 21 x 2 mm

4шт.

5

832-10410

NUT,M10 x 1.5, Cl 8

3шт.

6

L127554

WASHER,0.395" ID x 0.875" OD x 0.064" Thk

Brass

2шт.

7

253347A1

NUT,Hex, M10 x 1.5

M10 - 1,5

2шт.

8

L18331

CABLE TIE,375.9mm L, Nylon, Black

CABLE STRAP 15"

5шт.

9

396585A1

WIRE HARNESS

Return To Dig

1шт.

10

896-15012

WASHER,13.5mm ID x 28mm OD x 4mm Thk

13,5 x 28 x 4 mm

1шт.

4

627-10030

BOLT,Hex, M10 x 1.5 x 30mm, Cl 10.9, Full Thd

2шт.

Выбрано товаров: 11