Запчасти Case 721D (04-26) - CANOPY, ROPS - WIPER, FRONT (04) - ELECTRICAL SYSTEMS

Схема запчастей Case 721D - (04-26) - CANOPY, ROPS - WIPER, FRONT (04) - ELECTRICAL SYSTEMS
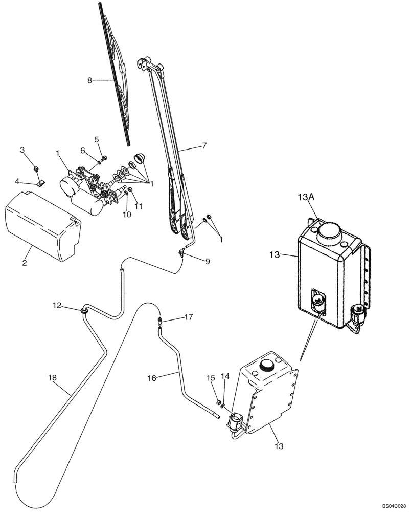
8
1
4
9
13
10
17
1
2
15
5
18
1
13
6
3
14
16
11
7
12
13a
FIT
1:1
100%

Артикул

Название

Примечание

Количество

1

322848A1

WIPER MOTOR

MOTOR, WIPER 24 volt; Windshield Front

1шт.

1

322848A1R

REMAN-WIPER MOTOR

Wiper Motor

1шт.

1

322848A1C

CORE-WIPER MOTOR

Return Number, ELECTRONIC CONTROL UNIT

1шт.

1

84544472R

REMAN-WIPER MOTOR

721D (NORTH AMERICA) (1/03-), Reman for New PN 322848A1

1шт.

1

84544472C

CORE-WIPER MOTOR

Return Number

1шт.

2

399232A1

COVER

Front Wiper

1шт.

3

1270742C1

PREV TORQUE BOLT,Cross Rec Pan Hd, M6 x 1 x 12mm

2шт.

4

833-40306

SPRING NUT,M6, U

2шт.

5

627-6012

BOLT,Hex, M6 x 1 x 12mm, Cl 10.9, Full Thd

1шт.

6

892-11006

LOCK WASHER,M6

1шт.

7

321736A1

WIPER ARM

ARM, WIPER Dual; Replaced By 87319294

1шт.

7

87319294

WIPER ARM

ARM, WIPER Dual; 800mm

1шт.

8

A187574

WIPER BLADE

700 mm (27-9/16 in); Replaced By 87319295

1шт.

8

87319295

WIPER BLADE

Assembly 700mm (27-9/16 in); Includes 'U' Shaped Retaining Clip

1шт.

9

1968053C1

ELBOW

90 deg Bulkhead

1шт.

10

N8361

SPRING WASHER

Belleville

1шт.

11

326203A1

NUT

1шт.

12

248-1169

GROMMET,3/8" ID x 5/8" Groove Dia

1шт.

13

236781A1

CONTAINER

Container/A; Windshield Washer; Front; If Used

1шт.

13

371185A1

RESERVOIR, WINDSHIEL,4.75L

Container/A; Windshield Washer; Front; If Used

1шт.

13a

87439461

CAP

Vented with Tether

1шт.

13a

48042633

PUMP,24V

2шт.

14

324467A1

HOSE

559mm (22 in); Pump to Check Valve; Cut from 4-1056T1; If Used

1шт.

14

8500662

HOSE WASHER

2540mm (100 in); Pump to Check Valve; Cut from 4-1056T1; If Used

1шт.

15

324203A1

CHECK VALVE

1шт.

16

324468A1

HOSE

1651 mm (65 in); Windshield Washer; Front

1шт.

17

832-10408

NUT,M8 x 1.25, Cl 8.8

3шт.

18

895-15008

WASHER,9mm ID x 20mm OD x 1.6mm Thk

3шт.

19

L18331

CABLE TIE,375.9mm L, Nylon, Black

CABLE STRAP M8 x 20; 8,8; Znd

2шт.

Выбрано товаров: 29