Запчасти Case 721D (05-04A) - HYDRAULICS, STEERING - PUMP TO LOAD SENSE VALVE (05) - STEERING

Схема запчастей Case 721D - (05-04A) - HYDRAULICS, STEERING - PUMP TO LOAD SENSE VALVE (05) - STEERING
3
17
4
3
14
8
15
5
12
1
10
8
7
19
9
15
7
6
1
2
13
20
11
16
18
2
6
FIT
1:1
100%

Артикул

Название

Примечание

Количество

1

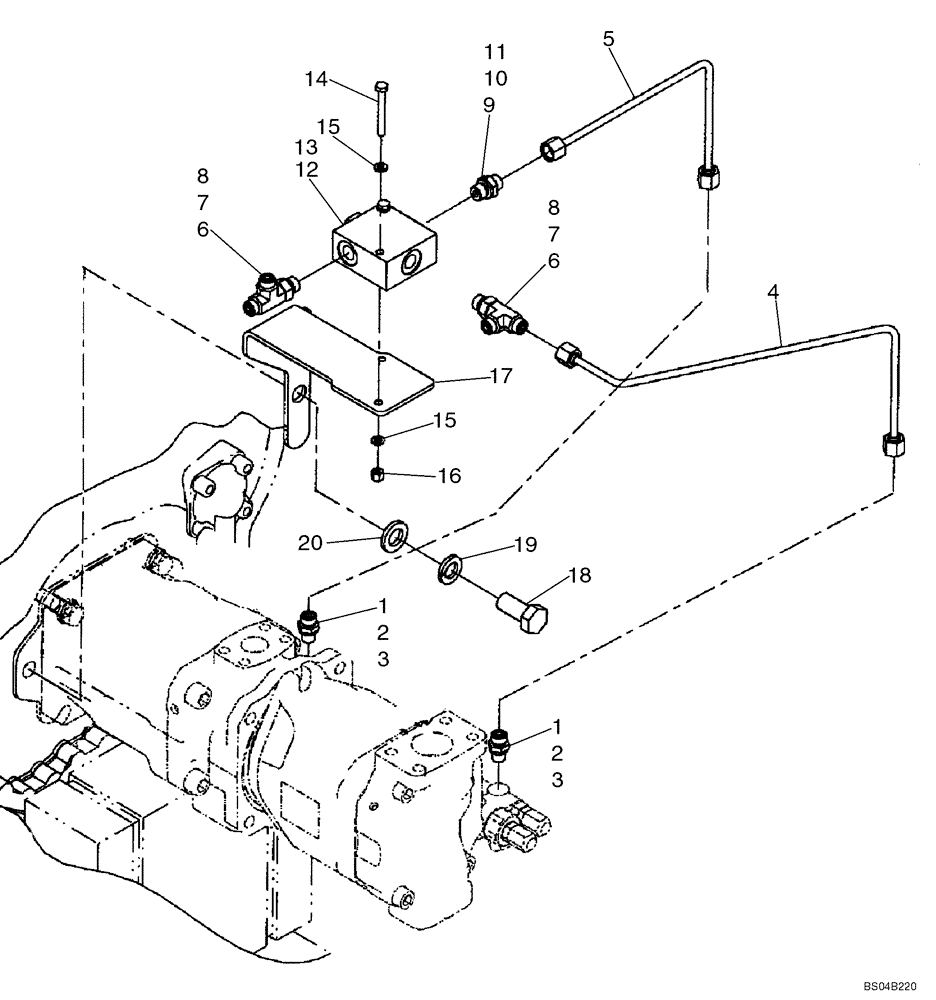
700-100

HYD CONNECTOR,9/16" - 18 Male ORFS x M12 x 1.5 Male ORB

Incl. 2, 3

2шт.

2

238-6011

O-RING,0.07" Thk x 0.301" ID, -11, Cl 6, 90 Duro

Face Seal

1шт.

3

637-63093

O-RING,2.2mm Thk x 9.3mm ID, Cl 6, 90 Duro

Boss Seal

1шт.

4

8501113

HYD TUBE

Small Pump

1шт.

5

8501003

HYD TUBE

Large Pump

1шт.

6

700-456

TEE,9/16" - 18 Male ORFS x 9/16" - 18 Male ORFS x M14 x 1.5 Male ORB

Adjustable; Incl. 7, 8

2шт.

7

238-6011

O-RING,0.07" Thk x 0.301" ID, -11, Cl 6, 90 Duro

Face Seal

2шт.

8

637-63113

O-RING,2.2mm Thk x 11.3mm ID, Cl 6

1шт.

9

700-153

HYD CONNECTOR,9/16" - 18 Male ORFS x M14 x 1.5 Male ORB

8mm ORFS x M14 ORB; Incl. 10, 11

1шт.

10

238-6011

O-RING,0.07" Thk x 0.301" ID, -11, Cl 6, 90 Duro

Face Seal

1шт.

11

637-63113

O-RING,2.2mm Thk x 11.3mm ID, Cl 6

1шт.

12

8605144

HYDRAULIC VALVE

Load Sense Shuttle; Incl.13; Seal Kit; Not Illustrated

1шт.

13

8605185

VALVE PRESSURE RELIE

Shuttle Cartridge; Incl. Seal Kit; Not Illustrated

1шт.

451774A1

SEAL KIT

Seal

1шт.

14

827-6050

BOLT,Hex, M6 x 50mm, Cl 10.9

2шт.

15

895-11006

WASHER,6.6mm ID x 12mm OD x 1.6mm Thk

4шт.

16

832-10406

NUT,M6 x 1, Cl 8

2шт.

17

8501217

BRACKET

Shuttle Valve

1шт.

18

627-16035

BOLT,Hex, M16 x 2 x 35mm, Cl 10.9, Full Thd

1шт.

19

892-11016

LOCK WASHER,16.4mm ID x 27.4mm OD x 5mm Thk

1шт.

20

896-11016

WASHER,17.5mm ID x 30mm OD x 4mm Thk

1шт.

Выбрано товаров: 21