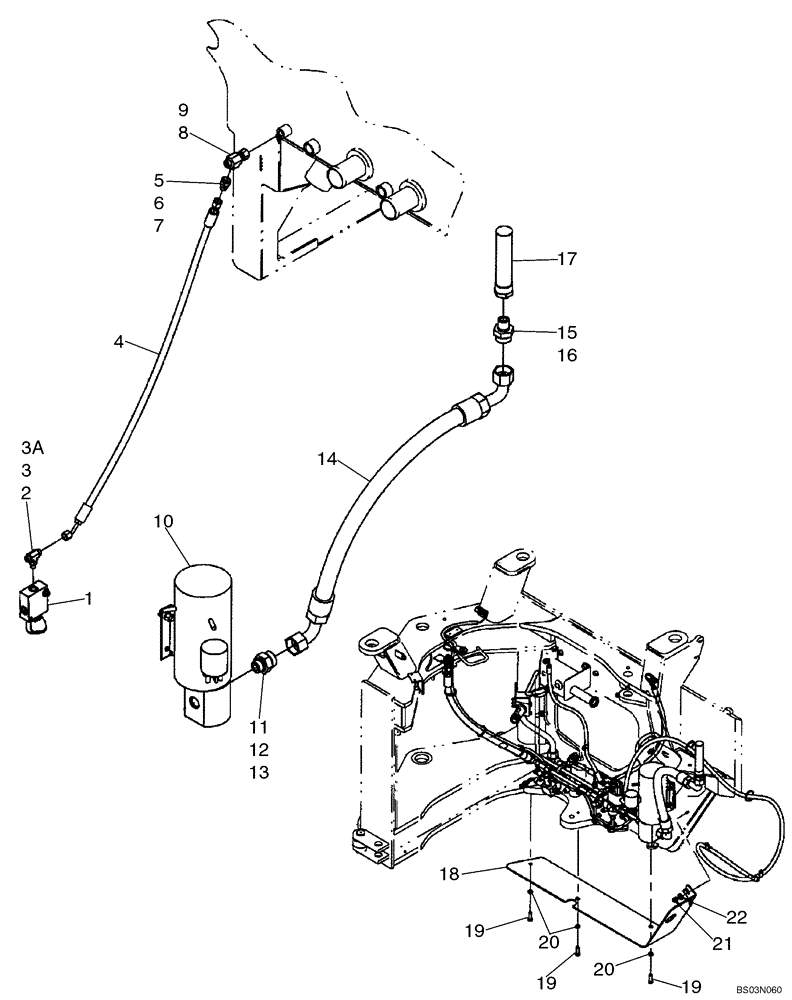
Запчасти Case 721D (05-06B) - HYDRAULICS - STEERING, AUXILIARY - PUMP TO HYDRAULIC TANK (05) - STEERING

Схема запчастей Case 721D - (05-06B) - HYDRAULICS - STEERING, AUXILIARY - PUMP TO HYDRAULIC TANK (05) - STEERING
12
11
19
9
21
7
4
6
19
20
3
3a
2
22
14
20
18
17
10
5
15
8
1
13
19
16
FIT
1:1
100%

Артикул

Название

Примечание

Количество

1

8501194

SOLENOID VALVE

Auxiliary Solenoid; Component Parts Not Serviced Separately

1шт.

2

700-413

TEE,9/16" - 18 Male ORFS x 9/16" - 18 Male ORFS x M12 x 1.5 Male ORB

Incl. 3, 3A

1шт.

3

238-6011

O-RING,0.07" Thk x 0.301" ID, -11, Cl 6, 90 Duro

Face Seal

2шт.

3a

637-63093

O-RING,2.2mm Thk x 9.3mm ID, Cl 6, 90 Duro

Boss Seal

1шт.

4

87424977

FLEXIBLE HOSE

LS Drain; 947mm ( 37 1/4 In )

1шт.

5

201-145

REDUCER,9/16"-18 Male x 11/16"-16 Fem, ORFS

Incl. 6, 7

1шт.

6

238-6011

O-RING,0.07" Thk x 0.301" ID, -11, Cl 6, 90 Duro

Face Seal

1шт.

7

238-6012

O-RING,0.07" Thk x 0.364" ID, -12, Cl 6, 90 Duro

1шт.

8

701-422

TEE,11/16" - 16 Male ORFS x 11/16" - 16 Male ORFS x 11/16" - 16 Female ORFS

ORFS Swivel Run 10mm or 3/8; Incl 9

1шт.

9

238-6012

O-RING,0.07" Thk x 0.364" ID, -12, Cl 6, 90 Duro

1шт.

10

87581480

ELECTRIC PUMP

Steering Auxiliary; Replaces 380013A1; See Figure 05-09

1шт.

11

700-166

HYD CONNECTOR,1-7/16" - 12 Male ORFS x M27 x 2 Male ORB

25mm ORFS x M27 ORB

1шт.

12

238-6021

O-RING,15/16 X 1 - 1/16, Cl 6

Face Seal

1шт.

13

637-64236

O-RING,2.9mm Thk x 23.6mm ID, Cl 6, 90 Duro

Boss End

1шт.

14

87433568

FLEXIBLE HOSE

Auxiliary Suction; 889mm ( 35 In )

1шт.

15

87433494

HYD CONNECTOR

ORFS To NPT; Incl. 16

1шт.

16

238-6021

O-RING,15/16 X 1 - 1/16, Cl 6

Face Seal End

1шт.

17

L129303

FILTER SCREEN

1шт.

18

87433575

GUARD

Skid

1шт.

19

627-12035

BOLT,Hex, M12 x 1.75 x 35mm, Cl 10.9, Full Thd

3шт.

20

892-11012

LOCK WASHER,M12

3шт.

21

832-10412

NUT,M12 x 1.75, Cl 8

1шт.

22

896-15012

WASHER,13.5mm ID x 28mm OD x 4mm Thk

1шт.

Выбрано товаров: 23