Запчасти Case 721D (05-07) - PRIORITY VALVE - STEERING (05) - STEERING

Схема запчастей Case 721D - (05-07) - PRIORITY VALVE - STEERING (05) - STEERING
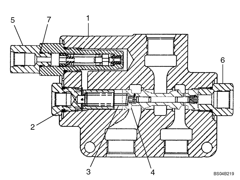
2
1
7
5
4
3
6
FIT
1:1
100%

Артикул

Название

Примечание

Количество

8605045

HYDRAULIC VALVE

Priority; Incl. 1 - 7

1шт.

87371434

HYDRAULIC VALVE

Priority; Incl. 1 - 6; Replaces 8605045

1шт.

1

NSS

NOT SOLD SEPARAT

Housing

1шт.

2

237-6010

O-RING,0.097" Thk x 0.755" ID, -910, Cl 6, 90 Duro

Boss Seal

2шт.

3

8605000

SPRING

150 psi

1шт.

4

NSS

NOT SOLD SEPARAT

Spool

1шт.

8605002

PLUG

Not Illustrated

1шт.

5

8605001

HYDRAULIC VALVE

1шт.

6

8605003

ORIFICE

Set Screw

1шт.

7

8605004

ORIFICE

Set Screw

1шт.

Выбрано товаров: 10