Запчасти Case 721D (06-34A) - DRIVE SHAFT - ENGINE (06) - POWER TRAIN

Схема запчастей Case 721D - (06-34A) - DRIVE SHAFT - ENGINE (06) - POWER TRAIN
2
10
9
7
8
15
13
1
4
15
8
3
3
5
12
10
9
1
11
1
6
4
FIT
1:1
100%

Артикул

Название

Примечание

Количество

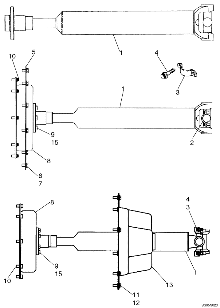
1

87436140

DRIVE SHAFT

Engine; Incl. 2; Replaces 8602352

1шт.

2

8604675

BEARING ASSY

Spider

1шт.

3

L116943

SECURING STRAP

Bearing

2шт.

87539949

KIT

KIT, For Service order in place of L116943

1шт.

4

19-6247

BOLT,3/8" - 24 x 0.75", Grade 8

3/8; 8

4шт.

5

8500188

COVER

Flywheel; If Used

1шт.

6

627-10020

BOLT,Hex, M10 x 1.5 x 20mm, Cl 10.9, Full Thd

If Used

12шт.

7

895-11010

WASHER,11mm ID x 20mm OD x 2mm Thk

If Used

12шт.

8

8501111

COUPLING FLANGE

1шт.

9

627-10025

BOLT,Hex, M10 x 1.5 x 25mm, Cl 10.9, Full Thd

6шт.

9

627-10035

BOLT,Hex, M10 x 1.5 x 35mm, Cl 10.9, Full Thd

Replaces 627-10025

6шт.

10

863-10020

HEX SOC SCREW,M10 x 20mm, Cl 12.9

If Used

8шт.

11

806-10030

BOLT,Hex, M10 x 1.5 x 30mm, Cl 10.9

If Used

10шт.

12

896-15010

WASHER,11mm ID x 24mm OD x 3mm Thk

If Used

10шт.

13

87447773

COVER

Fan Deflector; If Used

1шт.

14

760-14113

SELF-TAP SCREW,Pan Hd, M3.5 x 13

Used with Ref 13; Not Illustrated

2шт.

15

896-11010

WASHER,11mm ID x 21mm OD x 2.5mm Thk

6шт.

Выбрано товаров: 17